di nuovo a
motoruf
Warenkorb

Liste dei pezzi di ricambio per Toro




Liste dei pezzi di ricambio


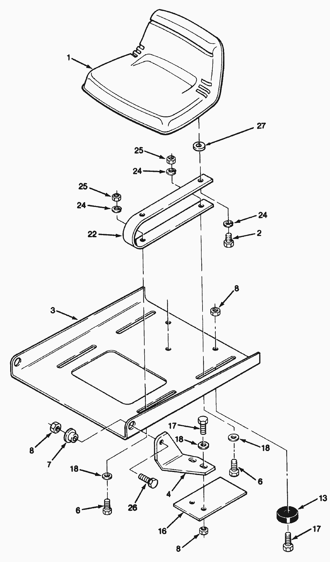
pos.descrizioneNĂºmero de pieza
179-0670
2322-5
3113852
4112745
112744
6322-4
7105503
83296-29
13108889
16112961
17322-5
183256-23
22112837
243253-4
253217-6
26322-6
27109989
Toro
Condizioni generali di contratto
(C) by motoruf