di nuovo a
>
Motori a benzina
>
Kawasaki
>
FA / FC
>
FA 76
>
Carburatore
Liste dei pezzi di ricambio per Wolf Motori a benzina Carburatore
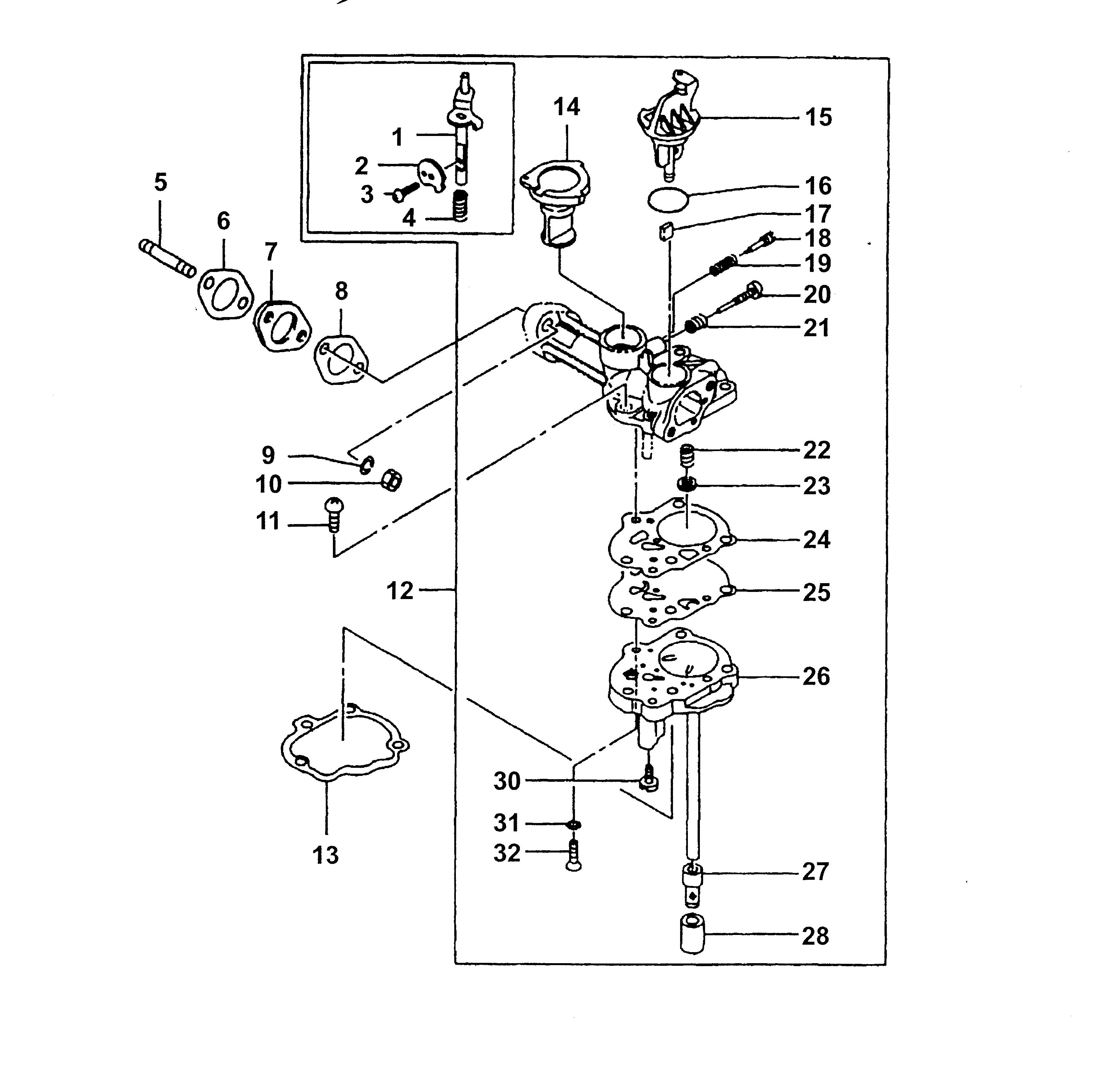
pos.
descrizione
NĂºmero de pieza
1
Asta di farfalla
2050418
2
Valvola di farfalla
2055436
3
Vite
2055113
4
Molla
2055438
5
Perno fisso
2055215
6
Guarnizione
2050409
6
Guarnizione isolante
2055216
7
Isolatore
2050410
8
Guarnizione
2050409
8
Guarnizione isolante
2055216
9
Rosetta
2050504
10
Dado
2050503
11
Vite
2050412
12
Carburatore completo
2050052
12
Carburatore completo
2055052
13
Guarnizione
2050423
13
Guarnizione
2055217
14
Coperchio di farfalla
2050413
15
Asta di farfalla
2055418
16
Seal-Dipstick Tube
2050419
17
Distanziale
2050429
18
Vite di regolazione
2050414
19
Molla
2055 420
20
Vite di regolatore
2050416
22
Molla
2050417
23
Portamolla
2050421
24
Guarnizione
2050411
25
Membrana
2050422
26
Parti inferiori di carter
2050430
27
Filtro
2050427
28
Manicotto
2050428
30
Ugello
2050426
31
Rosetta
2050425
32
Vite
2050424
Wolf
Attrezzi manuali
Tagliasiepi
Cesoie universali
Forbici per erba manuali
Cesoie per rami
Svettatoi
Cura degli alberi
Sistemi d'illuminazione
Forbici a batteria
Biotrituratori
Segacci
Rotofalci
Tosaerba elicoidali
Carrello spandiconcime / Portax
Carrelli avvolgitubo
Scarificatori / Arieggiatori
Tosaerba
Ride-On
Motori a benzina
Tecumseh
Briggs & Stratton
Honda
Kawasaki
FA / FC
FA 76
FA 76
FA 76
FC 150 V
FC 150 V
FC 180 V
FA 76
Basamento, coppa dell'olio
Albero a gomiti, pistone, biella, valvole
Carburatore
Serbatoio
Regolazione
Copertura della ventola
Indotto, bobina di accensione
Filtro dell'aria, silenziatore
Starter
FC 150 V
FJ
Accessori
Condizioni generali di contratto
(C) by motoruf