di nuovo a
motoruf
Warenkorb

Liste dei pezzi di ricambio per Toro




Liste dei pezzi di ricambio


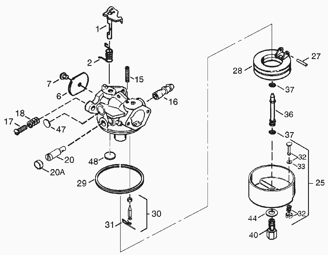
pos.descrizioneNĂºmero de pieza
131834
2631767
6640070
7650506
15630735
16632164
17651025
18630766
20640027
20640053
25631951
27631024
28632019
29631028
30631021
31631022
3227136A
3327554
36632745
37632547
40640074
4427110
47630748
48631027
640082
Toro
Condizioni generali di contratto
(C) by motoruf