di nuovo a
motoruf
Warenkorb

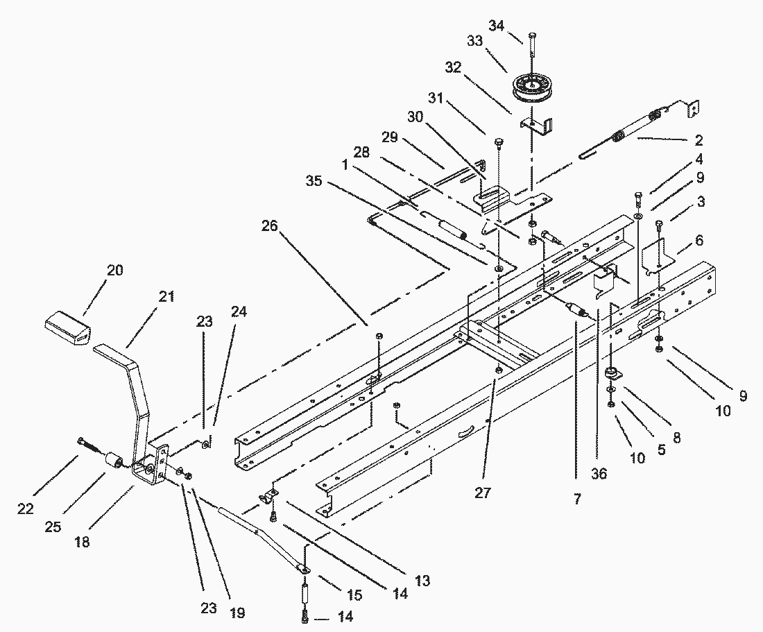
Liste dei pezzi di ricambio per Toro




Liste dei pezzi di ricambio


pos.descrizioneNĂºmero de pieza
127-8890
294-4294
3322-3
4322-6
55-4460
694-5433
788-6330
884-5610
93256-23
103296-29
1388-4810
14322-3
1588-5500
183256-26
193296-47
2065-2920
2188-5000-03
22322-9
233256-23
243272-10
2599-6836
263296-29
273296-29
283296-59
2988-5270
3088-6070
3137-8770
3288-5560
33104-4160
34323-10
355-4460
3694-4926
Toro
Condizioni generali di contratto
(C) by motoruf