di nuovo a
motoruf
Warenkorb

Liste dei pezzi di ricambio per Toro




Liste dei pezzi di ricambio


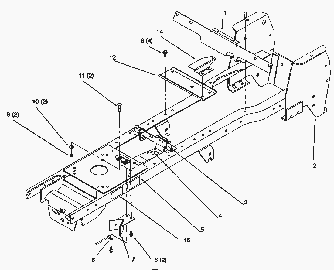
pos.descrizioneNĂºmero de pieza
192-6674-03
292-6660-03
3614249
492-6992-03
579-6730
579-7020
632144-14
778-2491-03
88830
93296-29
103256-23
113230-2
1292-6868-03
1492-6964-03
1592-8747
Toro
Condizioni generali di contratto
(C) by motoruf