.it
Carrello
vuoto
Il mio account
Registrati
Log in
Benvenuti
Contatti
Spedizione
L’azienda
Guest book
Condizioni e Privacy
Catalogare
Tagliare, profilare
Componenti per motore
Officine meccaniche
Parti e componentistica per macchine varie
Forestali
Articoli elettrici
Articoli invernali
Cinghie trapezoidali e relative pulegge
Filters
PEZZI DI RICAMBIO
Sprocket Rims
Guide Bars
Chainsaw Chains
Search by Part Number
Diagrammi ed elenchi
Servizio
Determine Chain
Ricerca
DE
EN
FR
ES
IT
Versione mobile
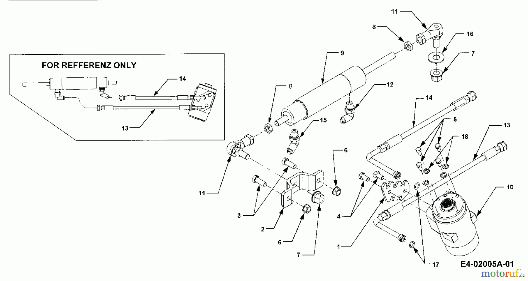
Cub Cadet HDS 3200 14A-652-603 (2001) Hydraulic steering Ricambi
Start
Cub Cadet
Garden tractors
HDS 3200
14A-652-603 (2001)
Hydraulic steering
Hydraulic steering 14A-652-603 (2001)
Posizione
Articolo numero
Descrizione
1
703-3015
DISK:REINFORCEMENT
2
703-3189
BRACKET-CYLINDER MCUB YELLOW
3
710-0514
HHCS:3/8-16:1.00:GR5:STD
4
710-3138
HHCS:M8-1.25:16MM:GR8.8:STD
5
710-3140
SCREW HHCS:M6-1.00:14MM DIN933
6
712-0431
NUT:FLGLK:3/8-16:GRF:TOP LK
7
712-3103
NUT-FLANGED LOCK
8
712-3104
NUT-FLANGED LOCK
9
717-3424
CYLINDER-STEERING
10
717-3442
PUMP-HYDRAULIC STEERING
11
723-0462
JOINT-RH THREAD BALL
12
727-3012
FITTING,90 DEGREE ELBOW
13
727-3126
HOSE-FRONT STEERING
14
727-3127
HOSE-REAR STEERING
15
727-3159
FITTING-45 DEGREE
16
736-3084
WASH:THRST:.510 X 1.120 X .060
17
721-0493
RING-"O"
18
736-0329
WASHER:LOCK:1/4:REGULAR DUTY
Gestione della qualità
Aiutaci a migliorare il nostro sito. Informaci se trovi un errore.