Wolf-Garten B 46 TB 4602000 (2001) Blade, Blade adapter, Engine Ricambi
Blade, Blade adapter, Engine 4602000 (2001)

| Posizione | Articolo numero | Descrizione | |
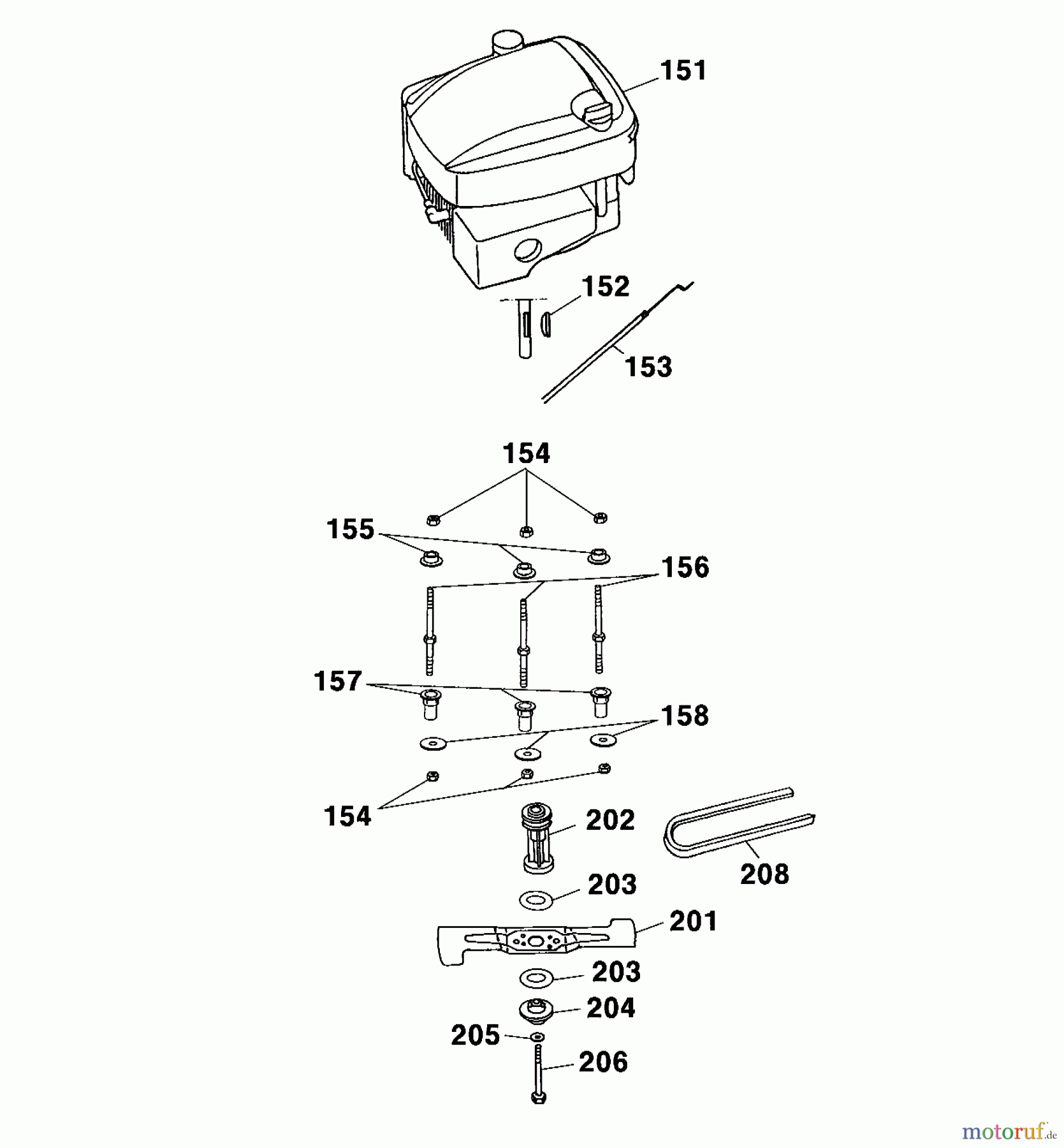
| 151 | 2038005 | MOTOR | |
| 152 | 0029055 | WASHER | |
| 153 | 4003054 | BOWDEN WIRE, BRAKE | |
| 154 | 0016312 | HEXAGON NUT M8 | |
| 155 | 4001172 | MOTOR BUSH | |
| 156 | 4001170 | STUD BOLT | |
| 157 | 4601312 | DISTANCE BUSH | |
| 158 | 0017111 | WASHER | |
| 201 | ![]() | 4601095 | VI46 REPL.BLADE |
| 202 | 4601402 | COUPLING BUSH | |
| 203 | 6450403 | Poulie motrice | |
| 204 | ![]() | 4840402 | COUPLING CAP |
| 205 | 0017105 | STRAIN WASHER | |
| 206 | 0010264 | SCREW 3/8"-24+3 3/8"-DIN931-10 | |


Gestione della qualità
Aiutaci a migliorare il nostro sito. Informaci se trovi un errore.



