Wolf-Garten Premio 46 E 4628000 Series B, C (2003) Cover engine, Blade, Engine Ricambi
Cover engine, Blade, Engine 4628000 Series B, C (2003)

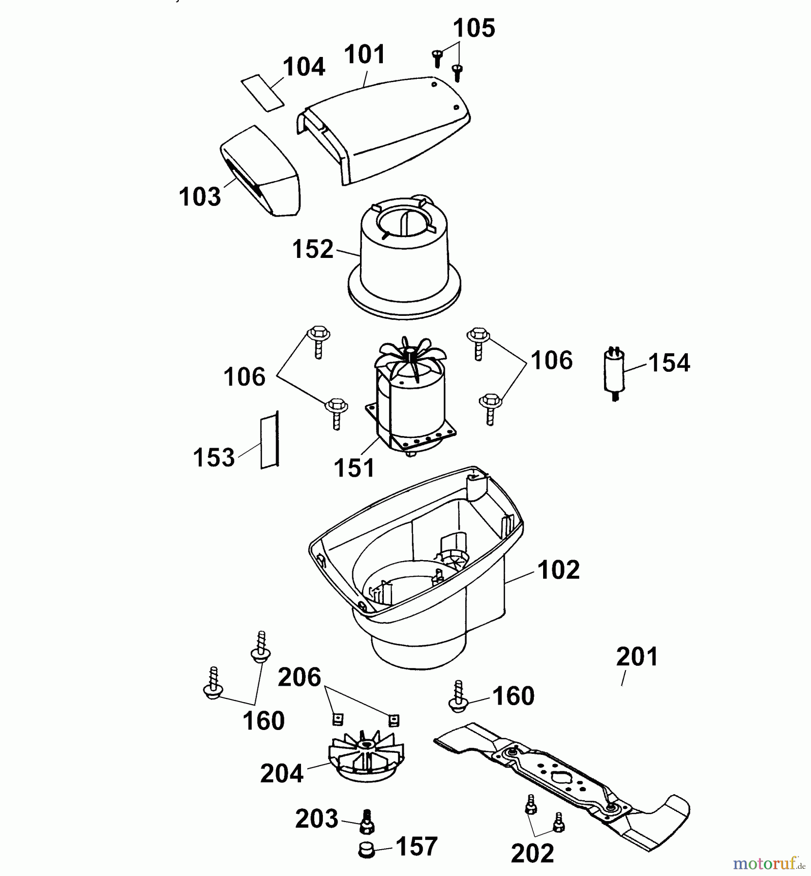
| Posizione | Articolo numero | Descrizione | |
| 101 | 4317301 | UPPER PART | |
| 102 | 4620300 | UNDER PART | |
| 103 | 4317302 | FRONT PART | |
| 104 | 4628205 | Label | |
| 105 | 0012625 | SCREW | |
| 106 | 0012886 | SCREW | |
| 151 | 1142081 | MOTOR 1700W | |
| 152 | 4961326 | AIR CONDUCTION | |
| 153 | 1142300 | FOIL | |
| 154 | 1133030 | CONDENSER 20óF STAHLSCHMIDT | |
| 157 | 4317308 | PLUG | |
| 160 | 0012641 | SCREW | |
| 201 | 4601094 | 4601094 | |
| *** | 4350040 | BLADE TIPS | |
| 202 | 0010385 | SCREW | |
| 203 | 0010403 | SCREW | |
| 204 | 4317026 | FAN | |
| 206 | 0016409 | Nut | |


Gestione della qualità
Aiutaci a migliorare il nostro sito. Informaci se trovi un errore.

