Wolf-Garten Power 1500 4927008 Series D (2009) Electric motor, Blade Ricambi
Electric motor, Blade 4927008 Series D (2009)

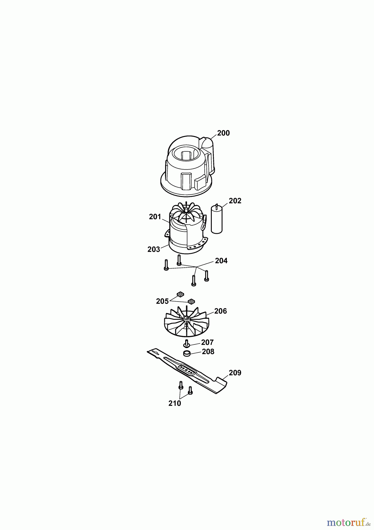
| Posizione | Articolo numero | Descrizione | |
| 200 | 4907314 | Air conduction | |
| 201 | 1148001 | Motor 1600W | |
| 202 | 1148030 | CONDENSER 25óF Stahlschmidt | |
| 203 | 1147100 | AIR CONDUCTION | |
| 204 | 0012649 | screw | |
| 205 | 0016407 | 4kt-nut M6-DIN557-8 | |
| 206 | 4907027 | Fan | |
| 207 | 0010686 | hexagon screw M6x20-DIN6900-10 | |
| 208 | 4936308 | PLUG | |
| 209 | ![]() | 4907400 | CUTTER BAR 37 |
| 210 | 0010368 | SCREW M6x16-DIN933-10.9 ~ | |


Gestione della qualità
Aiutaci a migliorare il nostro sito. Informaci se trovi un errore.


