Wolf-Garten 2.37 XC 4917006 Series A (2006) Blade, Blade adapter, Engine Ricambi
Blade, Blade adapter, Engine 4917006 Series A (2006)

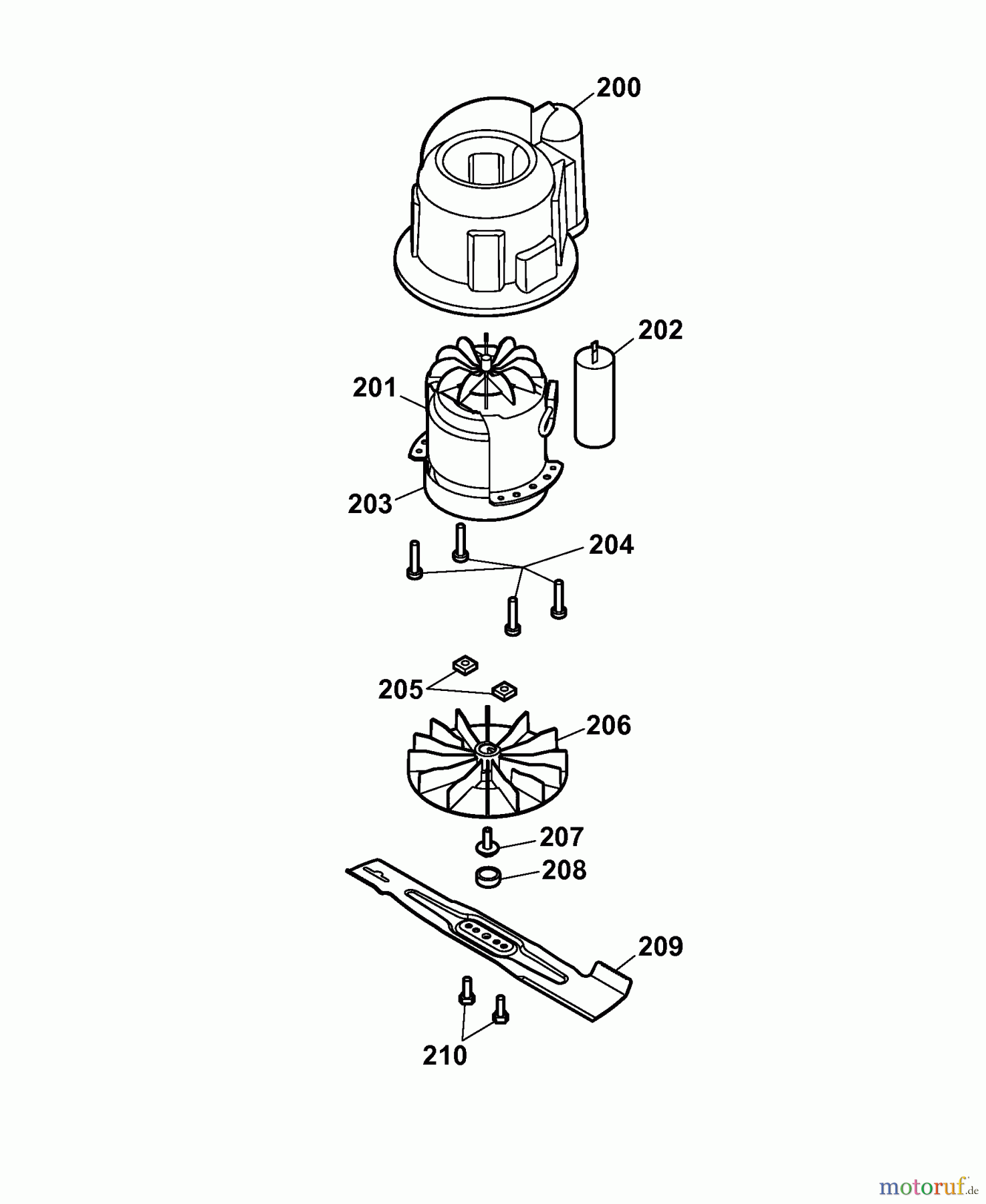
| Posizione | Articolo numero | Descrizione | |
| 200 | 4907314 | Air conduction | |
| 201 | 1147001 | Motor 1400W (WelleD17) Stahlsc | |
| 202 | 1117030 | Condenser, 16 óF | |
| 203 | 1147100 | AIR CONDUCTION | |
| 204 | 0012612 | SF-screw | |
| 205 | 0016406 | Square nut | |
| 206 | 4907027 | Fan | |
| 207 | 0010685 | HEX.SCREWM6 X 20 (PICCO) | |
| 208 | 4936308 | PLUG | |
| 209 | ![]() | 4907400 | CUTTER BAR 37 |
| 210 | ![]() | 0010366 | HEX. HEAD SCREW |


Gestione della qualità
Aiutaci a migliorare il nostro sito. Informaci se trovi un errore.



