.it
Carrello
vuoto
Il mio account
Registrati
Log in
Benvenuti
Contatti
Spedizione
L’azienda
Guest book
Condizioni e Privacy
Catalogare
Tagliare, profilare
Componenti per motore
Officine meccaniche
Parti e componentistica per macchine varie
Forestali
Articoli elettrici
Articoli invernali
Cinghie trapezoidali e relative pulegge
Filters
PEZZI DI RICAMBIO
Sprocket Rims
Guide Bars
Chainsaw Chains
Search by Part Number
Diagrammi ed elenchi
Servizio
Determine Chain
Ricerca
DE
EN
FR
ES
IT
Versione mobile
Gutbrod BM 100 4/BS 07507.02 (1990) Clutch Ricambi
Start
Gutbrod
Cutter bar mower
BM 100 4/BS
07507.02 (1990)
Clutch
Clutch 07507.02 (1990)
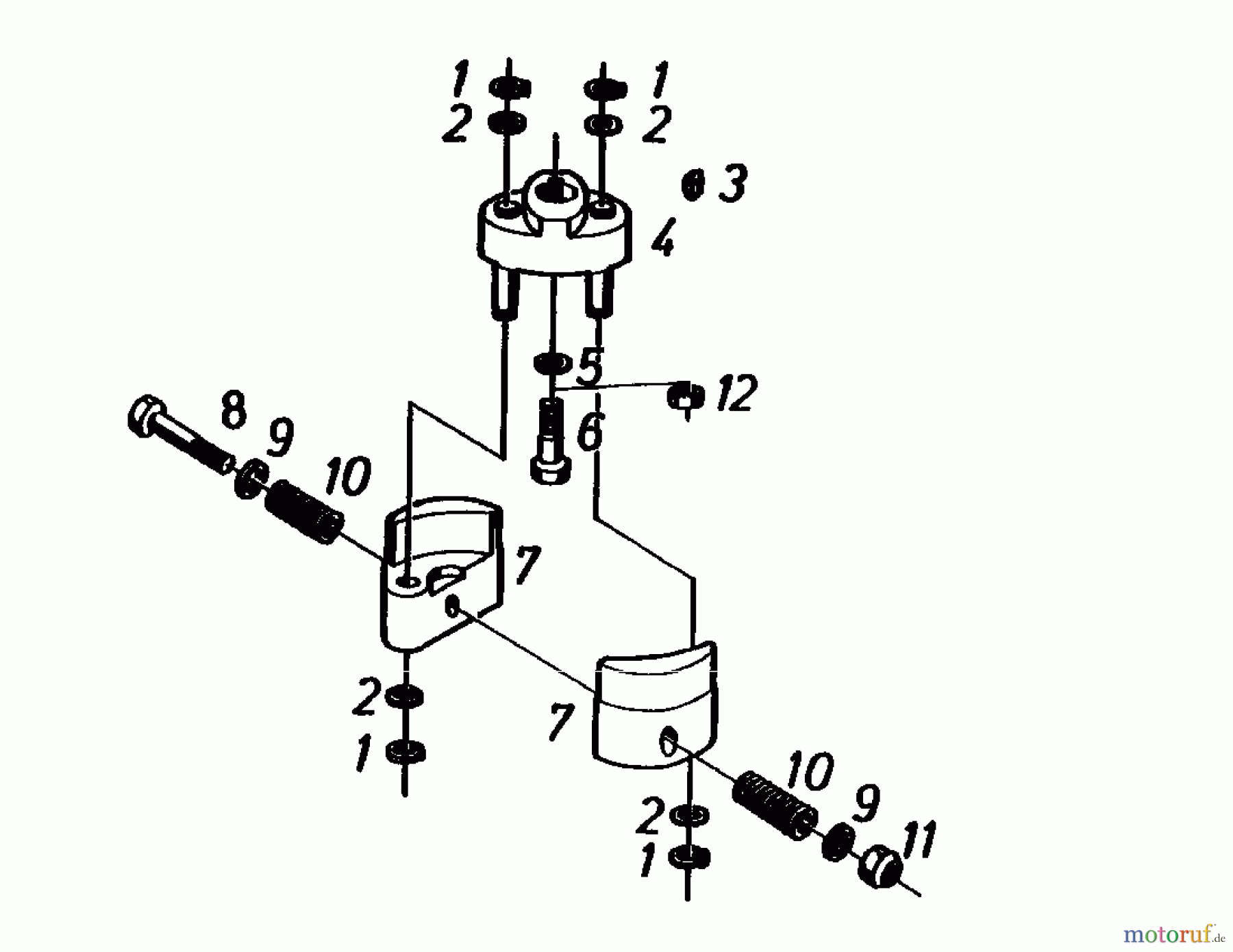
Posizione
Articolo numero
Descrizione
1
28.3591.12
Circlip DIN 471
1
28.3891.12
2
24.6273.37
SHIM
3
073.11.150
key
4
073.06.807
Hub conical
5
24.8498.22
SPRING WASHER
6
000.02.119
SCREW
7
073.06.806
CLUTCH SHOES
8
21.1443.60
SCREW:DIN 931-8.8:M10X70
9
24.6481.16
Washer
10
073.11.108
COMPRESSION SPRING
11
24.1426.14
NYL-STOP-NUT M6 DIN985-8
12
24.1422.22
Nut
Gestione della qualità
Aiutaci a migliorare il nostro sito. Informaci se trovi un errore.