.it
Carrello
vuoto
Il mio account
Registrati
Log in
Benvenuti
Contatti
Spedizione
L’azienda
Guest book
Condizioni e Privacy
Catalogare
Tagliare, profilare
Componenti per motore
Officine meccaniche
Parti e componentistica per macchine varie
Forestali
Articoli elettrici
Articoli invernali
Cinghie trapezoidali e relative pulegge
Filters
PEZZI DI RICAMBIO
Sprocket Rims
Guide Bars
Chainsaw Chains
Search by Part Number
Diagrammi ed elenchi
Servizio
Determine Chain
Ricerca
DE
EN
FR
ES
IT
Versione mobile
Dolmar Benzin 2-Takt MS341U 5 Handgriff, Bowdenzug Ricambi
Start
Dolmar
Motorsensen & Trimmer
Benzin
2-Takt
MS341U
5 Handgriff, Bowdenzug
5 Handgriff, Bowdenzug MS341U
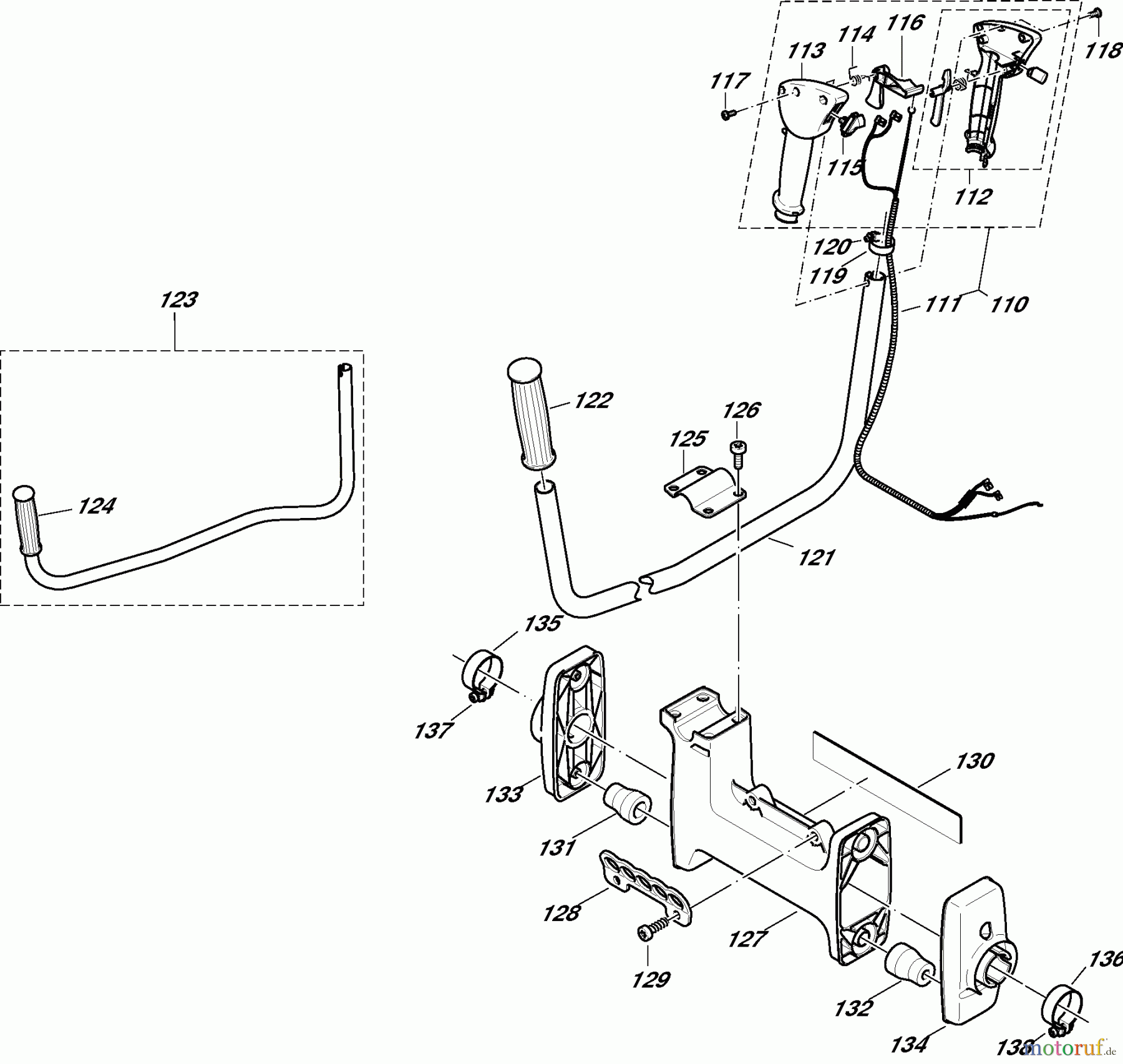
Posizione
Articolo numero
Descrizione
110
369313206
GASGRIFF KPL.
111
385726072
GASZUG KPL.
112
369313291
GRIFFHäLFTE RECHTS KPL.
113
369313011
GRIFFHäLFTE LINKS ø 22
114
369311071
SCHENKELFEDER FüR GASHEBEL
115
975001241
KURZSCHLUßSCHALTER
116
369311081
GASHEBEL
117
915735100
SCHRAUBE 3,5X10
118
915735100
SCHRAUBE 3,5X10
119
965903080
ROHRSCHELLE
120
908006255
ZYLINDERSCHRAUBE M6X25
121
385310161
GRIFFROHR
122
387311100
HANDGRIFF, LINKS
123
385310401
MäHLENKER
124
387311100
HANDGRIFF, LINKS
125
387310031
ROHRSCHELLE II
126
908006145
SCHRAUBE T M6X14
127
387310321
GRIFFANBINDUNG ROT
128
385316011
LOCHLEISTE
129
913467164
SCHRAUBE T 6,7X16
130
980116023
SCHILD MS-341 U
131
965403380
RINGPUFFER
132
965403380
RINGPUFFER
133
387310011
KLEMMSTüCK ROT
134
387310011
KLEMMSTüCK ROT
135
965903080
ROHRSCHELLE
136
965903080
ROHRSCHELLE
137
908006255
ZYLINDERSCHRAUBE M6X25
138
908006255
ZYLINDERSCHRAUBE M6X25
Gestione della qualità
Aiutaci a migliorare il nostro sito. Informaci se trovi un errore.