.it
Carrello
vuoto
Il mio account
Registrati
Log in
Benvenuti
Contatti
Spedizione
L’azienda
Guest book
Condizioni e Privacy
Catalogare
Tagliare, profilare
Componenti per motore
Officine meccaniche
Parti e componentistica per macchine varie
Forestali
Articoli elettrici
Articoli invernali
Cinghie trapezoidali e relative pulegge
Filters
PEZZI DI RICAMBIO
Sprocket Rims
Guide Bars
Chainsaw Chains
Search by Part Number
Diagrammi ed elenchi
Servizio
Determine Chain
Ricerca
DE
EN
FR
ES
IT
Versione mobile
Dolmar Benzin 2-Takt MS-330 U (USA) 12,2 U - Schaftrohr, Handgriff Ricambi
Start
Dolmar
Motorsensen & Trimmer
Benzin
2-Takt
MS-330 U (USA)
12,2 U - Schaftrohr, Handgriff
12,2 U - Schaftrohr, Handgriff MS-330 U (USA)
Posizione
Articolo numero
Descrizione
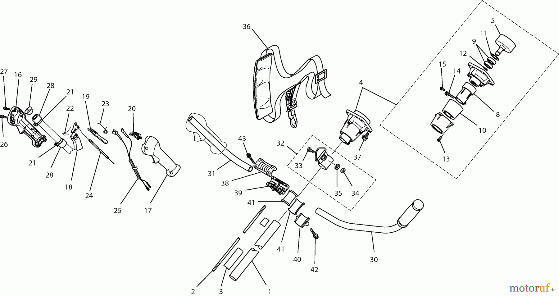
1
351501091
SCHAFTROHR
2
351501042
ANTRIEBSWELLE
3
351501014
SCHILD
4
351505080
KUPPLUNGSGEHäUSE KPL.
5
351505051
KUPPLUNGSTROMMEL
8
351505054
KLEMMBUCHSE
9
351505013
KUGELLAGER
10
351505048
GUMMIDäMPFER
11
351505015
SICHERUNGSRING
12
351505016
SICHERUNGSRING
13
351505047
6KT-SCHRAUBE
14
351505017
SCHRAUBE
15
351505018
SCHRAUBE
16
351506021
GRIFFHÄLFTE RECHTS
17
351506023
GRIFFHäLFTE
18
351506025
GASHEBEL
19
351506026
SICHERUNGSHEBEL
20
351506027
KURZSCHLUßSCHALTER
21
351506028
SCHELLE
22
351506019
DREHFEDER
23
352506010
FEDER
24
352506031
BOWDENZUG
25
352506033
KABEL KPL.
26
351505018
SCHRAUBE
27
352506015
SCHRAUBE
28
352506036
GUMMIDäMPFER
29
352506037
ROHRENDSTOPFEN
30
351507073
GRIFFROHR LINKS
31
352507073
GRIFFROHR RECHTS
32
351508030
GURTAUFNAHME KPL.
33
351508012
SCHRAUBE
34
351508013
MUTTER
35
351508014
SCHEIBE
36
351509010
SCHULTERGURT
37
351504020
SCHRAUBE
38
351512011
KLEMMSCHALE GRIFFROHR
39
351512012
GRIFFHALTERUNG
40
351512013
KLEMMSCHALE SCHAFTROHR
41
351512014
DäMPFUNGSELEMENT
42
351505017
SCHRAUBE
43
351505047
6KT-SCHRAUBE
Gestione della qualità
Aiutaci a migliorare il nostro sito. Informaci se trovi un errore.