.it
Carrello
vuoto
Il mio account
Registrati
Log in
Benvenuti
Contatti
Spedizione
L’azienda
Guest book
Condizioni e Privacy
Catalogare
Tagliare, profilare
Componenti per motore
Officine meccaniche
Parti e componentistica per macchine varie
Forestali
Articoli elettrici
Articoli invernali
Cinghie trapezoidali e relative pulegge
Filters
PEZZI DI RICAMBIO
Sprocket Rims
Guide Bars
Chainsaw Chains
Search by Part Number
Diagrammi ed elenchi
Servizio
Determine Chain
Ricerca
DE
EN
FR
ES
IT
Versione mobile
Dolmar Benzin 2-Takt MS-31 U 5 Gasgriff, Handgriff Ricambi
Start
Dolmar
Motorsensen & Trimmer
Benzin
2-Takt
MS-31 U
5 Gasgriff, Handgriff
5 Gasgriff, Handgriff MS-31 U
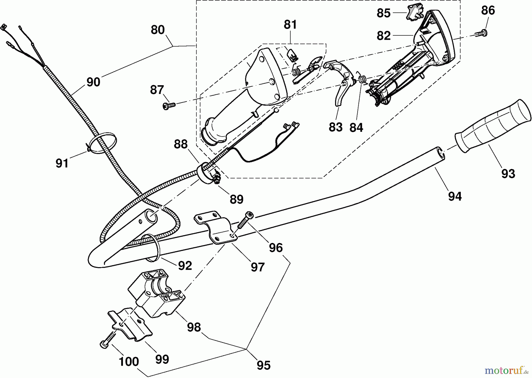
Posizione
Articolo numero
Descrizione
80
369313106
GASGRIFF KPL. ø 22
81
369313291
GRIFFHäLFTE RECHTS KPL.
82
369313011
GRIFFHäLFTE LINKS ø 22
83
369311043
GASHEBEL
84
369311071
SCHENKELFEDER FüR GASHEBEL
85
975001241
KURZSCHLUßSCHALTER
86
915735100
SCHRAUBE 3,5X10
87
915735100
SCHRAUBE 3,5X10
88
965903080
ROHRSCHELLE
89
908006255
ZYLINDERSCHRAUBE M6X25
90
369726011
GASZUG KPL.
91
980600100
FLACHBINDER
92
980600100
FLACHBINDER
93
387311100
HANDGRIFF, LINKS
94
369310051
GRIFFROHR
95
010310030
KLEMMBLOCK KPL. INKL. SCHRAUBEN
96
266984-4
SCHRAUBE T M5X25
97
387310031
ROHRSCHELLE II
98
369310030
KLEMMBLOCK (ALUMINIUM)
99
369310020
KLEMMSCHELLE
100
266984-4
SCHRAUBE T M5X25
Gestione della qualità
Aiutaci a migliorare il nostro sito. Informaci se trovi un errore.