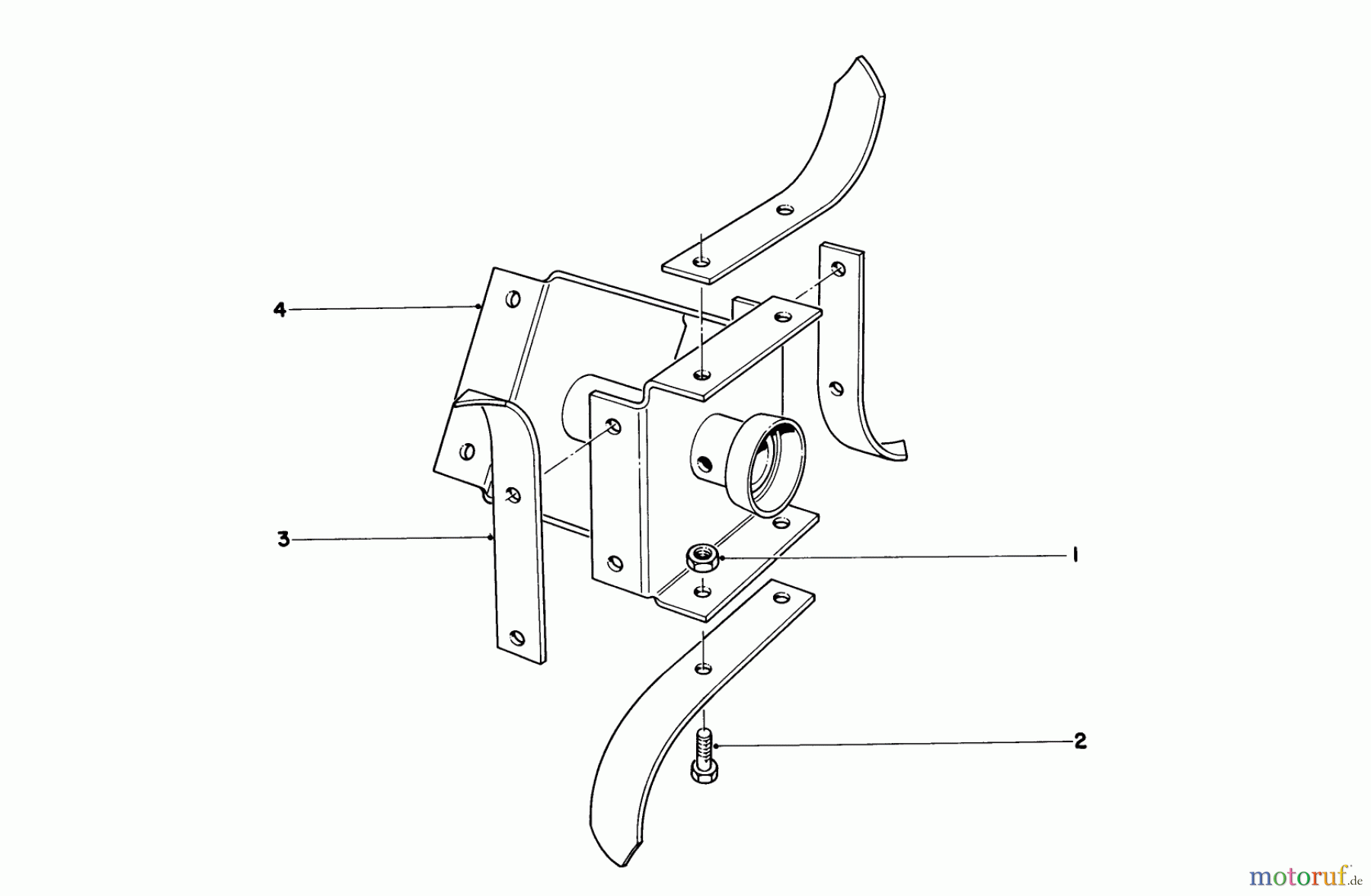
Toro 58007 - 20" Tiller, 1982 (2000001-2999999) PICK TINE KIT MODEL NO. 17-8200 (OPTIONAL) Ricambi
PICK TINE KIT MODEL NO. 17-8200 (OPTIONAL) 58007 - Toro 20" Tiller, 1982 (2000001-2999999)

| Posizione | Articolo numero | Descrizione | |
| 1 | TR32152-2 | NUT-LOCK, CONE | |
| 2 | TR323-4 | Schraube | |
| 3 | TR17-8260 | DISCONTINUED | |
| 4 | TR18-8920 | DISCONTINUED | |
| TR17-8270 | DISCONTINUED | ||


Gestione della qualità
Aiutaci a migliorare il nostro sito. Informaci se trovi un errore.

