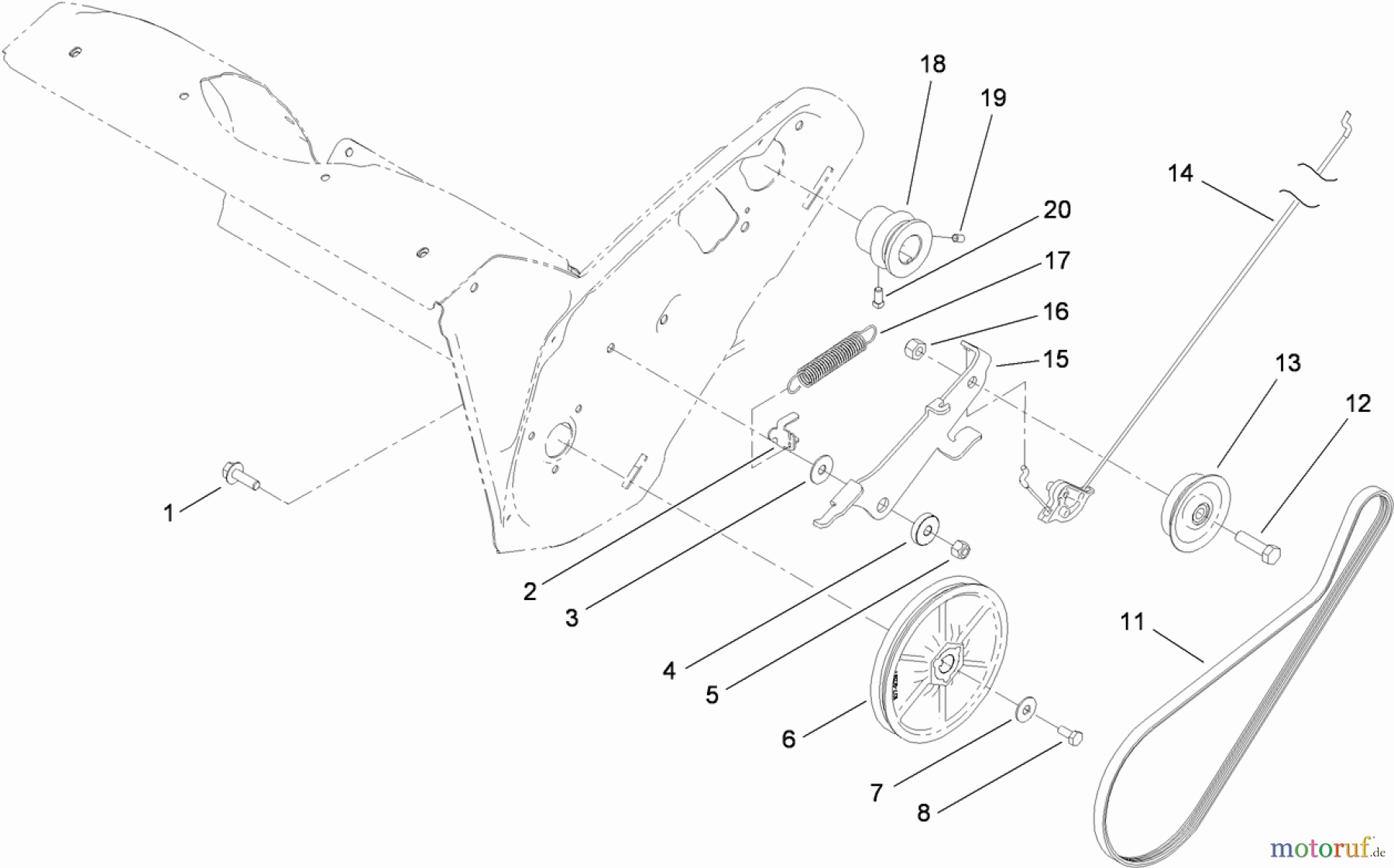
Toro 38458 (621 QZR) - Power Clear 621 QZR Snowthrower, 2012 (312000001-312999999) ROTOR DRIVE ASSEMBLY Ricambi
ROTOR DRIVE ASSEMBLY 38458 (621 QZR) - Toro Power Clear 621 QZR Snowthrower, 2012 (312000001-312999999)



Gestione della qualità
Aiutaci a migliorare il nostro sito. Informaci se trovi un errore.


