Toro 38405 (1000) - CCR 1000 Snowthrower, 1999 (99000001-99999999) CARBURETOR NO. 640086 Ricambi
CARBURETOR NO. 640086 38405 (1000) - Toro CCR 1000 Snowthrower, 1999 (99000001-99999999)

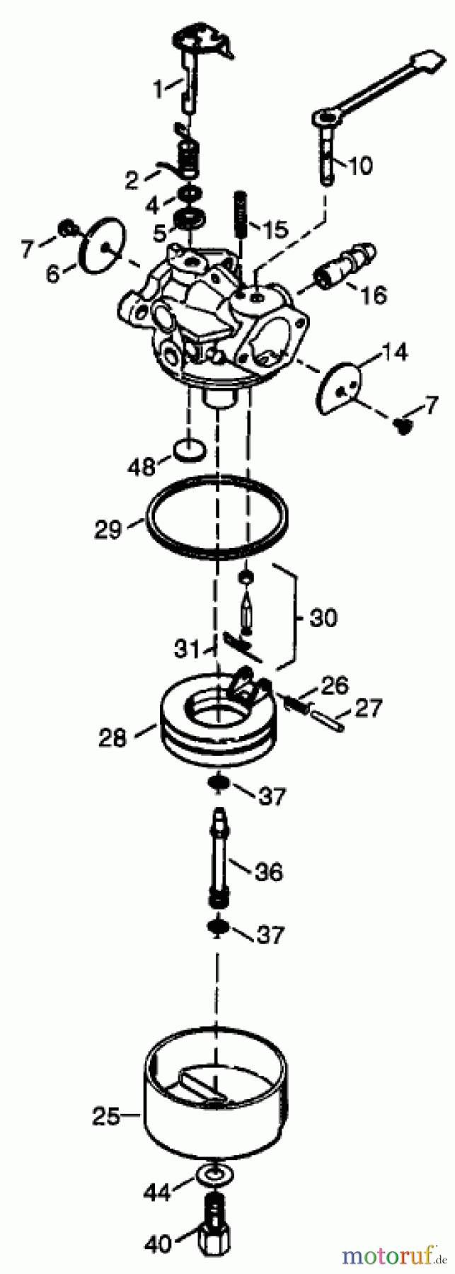
| Posizione | Articolo numero | Descrizione | |
| 1 | TC632166A | SHAFT & LEV | |
| 2 | TC632169 | FEDER | |
| 4 | TC631184 | WASHER | |
| 5 | TC631183 | SCHEIBE | |
| 6 | TC631621 | DROSSELKLAPPE | |
| 7 | TC650506 | SCHRAUBE | |
| 10 | TC632553 | SHAFT & LEV | |
| 14 | TC631815 | DROSSELKLAPPE | |
| 15 | TC630735 | SPRING | |
| 16 | TC632164 | AUSLASSTUTZEN | |
| 25 | TC631867 | SCHWIMMERGEHAEUSE | |
| 26 | TC632386 | FEDER | |
| 27 | TC631024 | FLOAT SHAFT | |
| 28 | TC632019A | FLOAT | |
| 29 | TC631028 | DICHTUNG | |
| 30 | TC631021B | INLET NEEDLE | |
| 31 | TC631022 | KLEMME | |
| 36 | TC640080 | DUESE | |
| 37 | ![]() | TC632547 | O-RING |
| 40 | TC640087 | MUTTER | |
| 44 | TC27110 | USE 27110A | |
| 48 | TC631027 | WELCH PLUG | |


Gestione della qualità
Aiutaci a migliorare il nostro sito. Informaci se trovi un errore.


