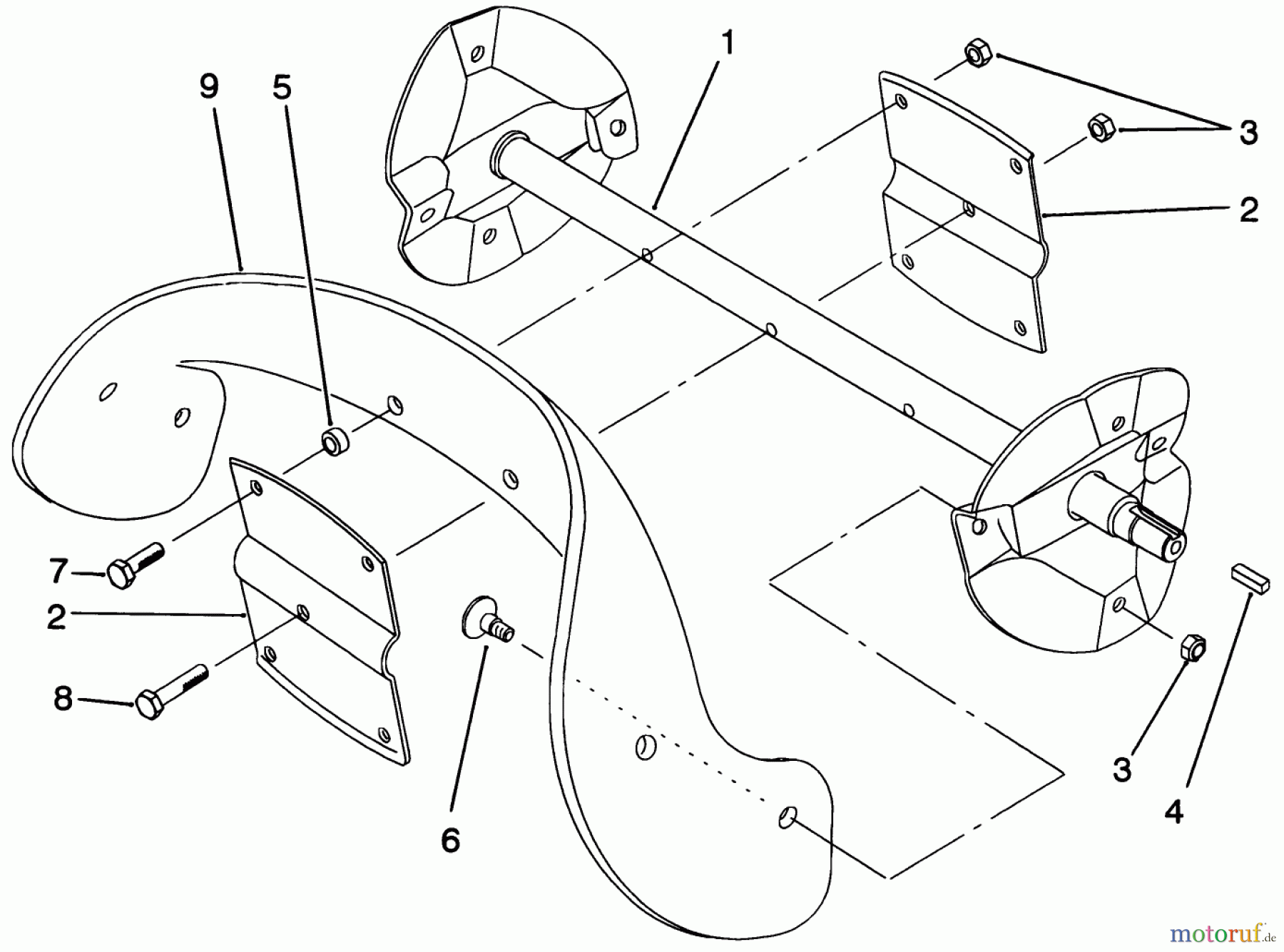
Toro 38196 - CCR 1000 Snowthrower, 1993 (3900001-3999999) ROTOR ASSEMBLY Ricambi
ROTOR ASSEMBLY 38196 - Toro CCR 1000 Snowthrower, 1993 (3900001-3999999)

| Posizione | Articolo numero | Descrizione | |
| 1 | TR55-9202 | 100-5478-03 | |
| 2 | TR66-6600 | 66-6600-03 | |
| 3 | ![]() | TR3296-56 | Stopmutter |
| 4 | TR10-8040 | Keil | |
| 5 | ![]() | TR55-9370 | Buechse |
| 6 | ![]() | TR84-1971 | Schraube |
| 7 | ![]() | TR321-4 | Schraube |
| 8 | TR321-8 | Schraube | |
| 9 | TR88-0781 | RAEUMBLATT | |


Gestione della qualità
Aiutaci a migliorare il nostro sito. Informaci se trovi un errore.





