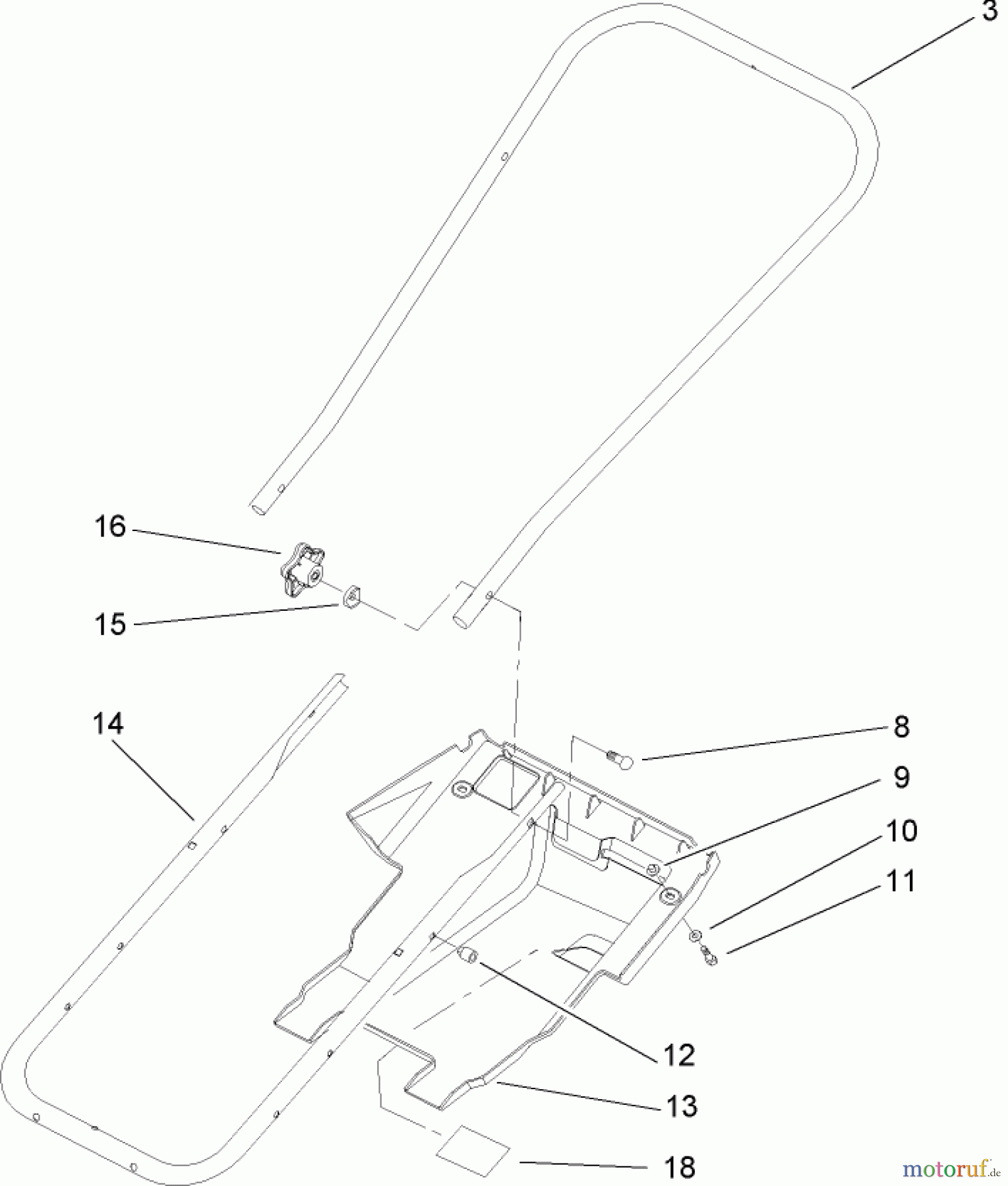
Toro 38182 - Powerlite Snowthrower, 2005 (250000001-250010000) HANDLE AND LOWER SHROUD ASSEMBLY Ricambi
HANDLE AND LOWER SHROUD ASSEMBLY 38182 - Toro Powerlite Snowthrower, 2005 (250000001-250010000)

| Posizione | Articolo numero | Descrizione | |
| 3 | TR75-9070-03 | HANDLE-UPPER | |
| 8 | ![]() | TR92-2260 | SCREW-HANDLE |
| 9 | TR605120 | Kabeltuelle | |
| 10 | ![]() | TR3256-14 | Scheibe |
| 11 | ![]() | TR32144-34 | Schraube |
| 12 | TR32115-17 | NUT-EXPANSION | |
| 13 | TR75-8790 | Abdeckung u.T. | |
| 14 | TR75-9060-03 | TUBE-FRAME | |
| 15 | TR75-9130 | Scheibe | |
| 16 | TR106-4161 | KNOB-HANDLE | |
| 18 | TR61-4790 | KLEBESCHILD | |






