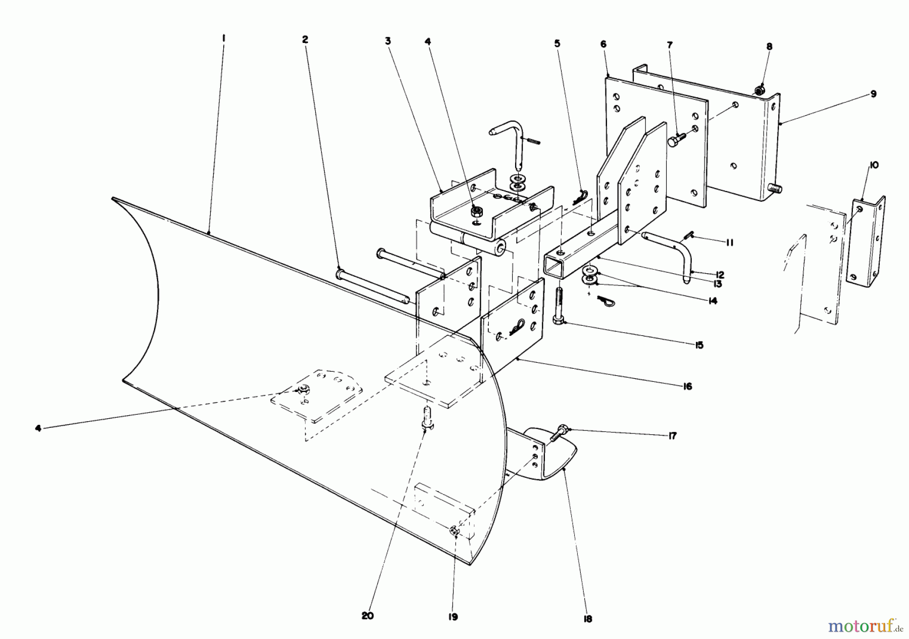
Toro 38080 (824) - 824 Snowthrower, 1986 (6000001-6999999) GRADER BLADE ASSEMBLY MODEL 59099 Ricambi
GRADER BLADE ASSEMBLY MODEL 59099 38080 (824) - Toro 824 Snowthrower, 1986 (6000001-6999999)



Gestione della qualità
Aiutaci a migliorare il nostro sito. Informaci se trovi un errore.

