.it
Carrello
vuoto
Il mio account
Registrati
Log in
Benvenuti
Contatti
Spedizione
L’azienda
Guest book
Condizioni e Privacy
Catalogare
Tagliare, profilare
Componenti per motore
Officine meccaniche
Parti e componentistica per macchine varie
Forestali
Articoli elettrici
Articoli invernali
Cinghie trapezoidali e relative pulegge
Filters
PEZZI DI RICAMBIO
Sprocket Rims
Guide Bars
Chainsaw Chains
Search by Part Number
Diagrammi ed elenchi
Servizio
Determine Chain
Ricerca
DE
EN
FR
ES
IT
Versione mobile
Toro Z1-24OE03 (724-Z) - 724-Z Tractor, 1990 PARKING BRAKE Ricambi
Start
Toro Neu
Mowers, Zero-Turn
Z1-24OE03 (724-Z) - Toro 724-Z Tractor, 1990
PARKING BRAKE
PARKING BRAKE Z1-24OE03 (724-Z) - Toro 724-Z Tractor, 1990
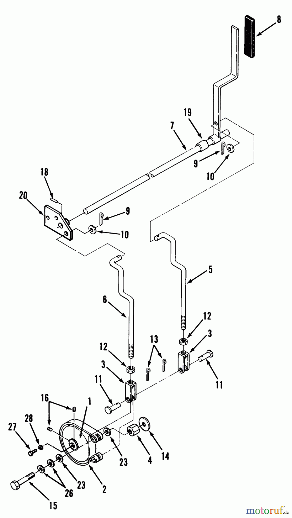
Posizione
Articolo numero
Descrizione
1
TR113518
DISCONTINUED
2
TR113624
BRAKE-BAND
3
TR113623
ASSY-YOKE BRAKE
4
TR113690
NUT-COUPLING
5
TR115793
DISCONTINUED
6
TR115794
ROD-BRAKE R.H.
7
TR113668
ASSY-PARKING BRK
8
TR111922
GRIP BRAKE20258-K
9
TR932008
3272-6
10
TR920008
Scheibe
11
TR932958
9329584
12
TR915001
MUTTER
13
TR932008
3272-6
14
TR2844
WASHER
15
TR908035
SCHRAUBE (10)
18
TR32121-114
SPIROL PIN H D
19
TR113665
SPACER-PARKING BR *B
20
TR116477
116478
23
TR920009
3256-24
26
TR108571
Wellenscheibe (20)
27
TR908002
SCHRAUBE (10)
28
TR103995
Scheibe
Gestione della qualità
Aiutaci a migliorare il nostro sito. Informaci se trovi un errore.