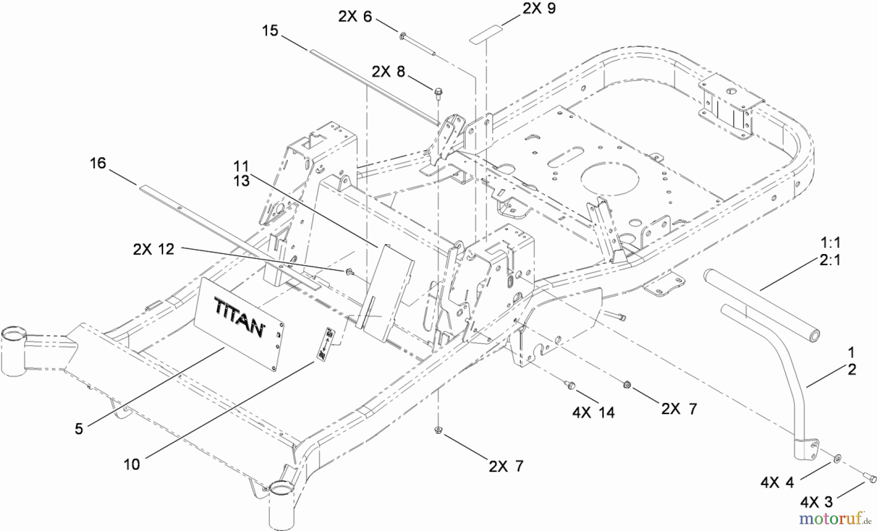
Toro 74832 (ZX5450) - TITAN ZX5450 Zero-Turn-Radius Riding Mower, 2010 (310000001-310999999) HANDLE CONTROL ASSEMBLY Ricambi
HANDLE CONTROL ASSEMBLY 74832 (ZX5450) - Toro TITAN ZX5450 Zero-Turn-Radius Riding Mower, 2010 (310000001-310999999)



Gestione della qualità
Aiutaci a migliorare il nostro sito. Informaci se trovi un errore.


