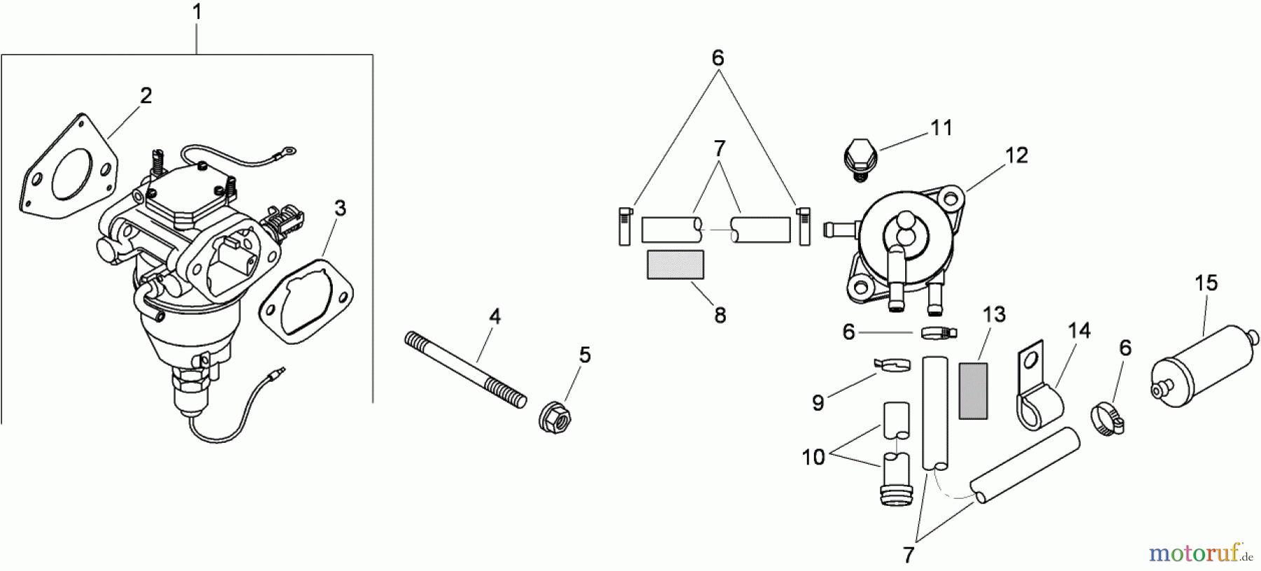
Toro 74813 (Z4800) - TITAN Z4800 Zero-Turn-Radius Riding Mower, 2009 (290000001-290999999) FUEL SYSTEM ASSEMBLY KOHLER SV820-0013 Ricambi
FUEL SYSTEM ASSEMBLY KOHLER SV820-0013 74813 (Z4800) - Toro TITAN Z4800 Zero-Turn-Radius Riding Mower, 2009 (290000001-290999999)



Gestione della qualità
Aiutaci a migliorare il nostro sito. Informaci se trovi un errore.

