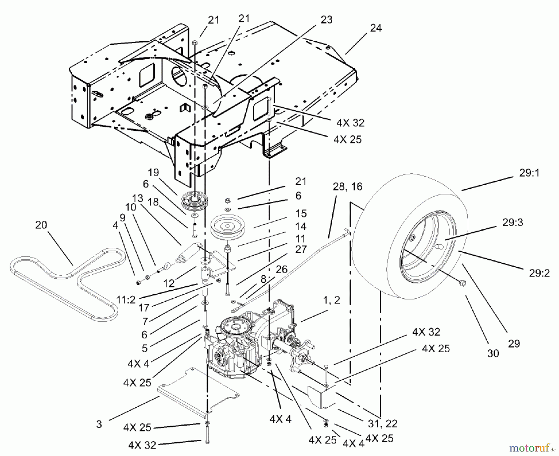
Toro 74801 (18-52ZX) - 18-52ZX TimeCutter ZX Riding Mower, 2003 (230000001-230999999) HYDRO AND BELT DRIVE ASSEMBLY Ricambi
HYDRO AND BELT DRIVE ASSEMBLY 74801 (18-52ZX) - Toro 18-52ZX TimeCutter ZX Riding Mower, 2003 (230000001-230999999)



Gestione della qualità
Aiutaci a migliorare il nostro sito. Informaci se trovi un errore.



