Toro 74801 (18-52ZX) - 18-52ZX TimeCutter ZX Riding Mower, 2003 (230000001-230999999) CONTROL EQUIPMENT ASSEMBLY KAWASAKI FH531V-CS07 Ricambi
CONTROL EQUIPMENT ASSEMBLY KAWASAKI FH531V-CS07 74801 (18-52ZX) - Toro 18-52ZX TimeCutter ZX Riding Mower, 2003 (230000001-230999999)

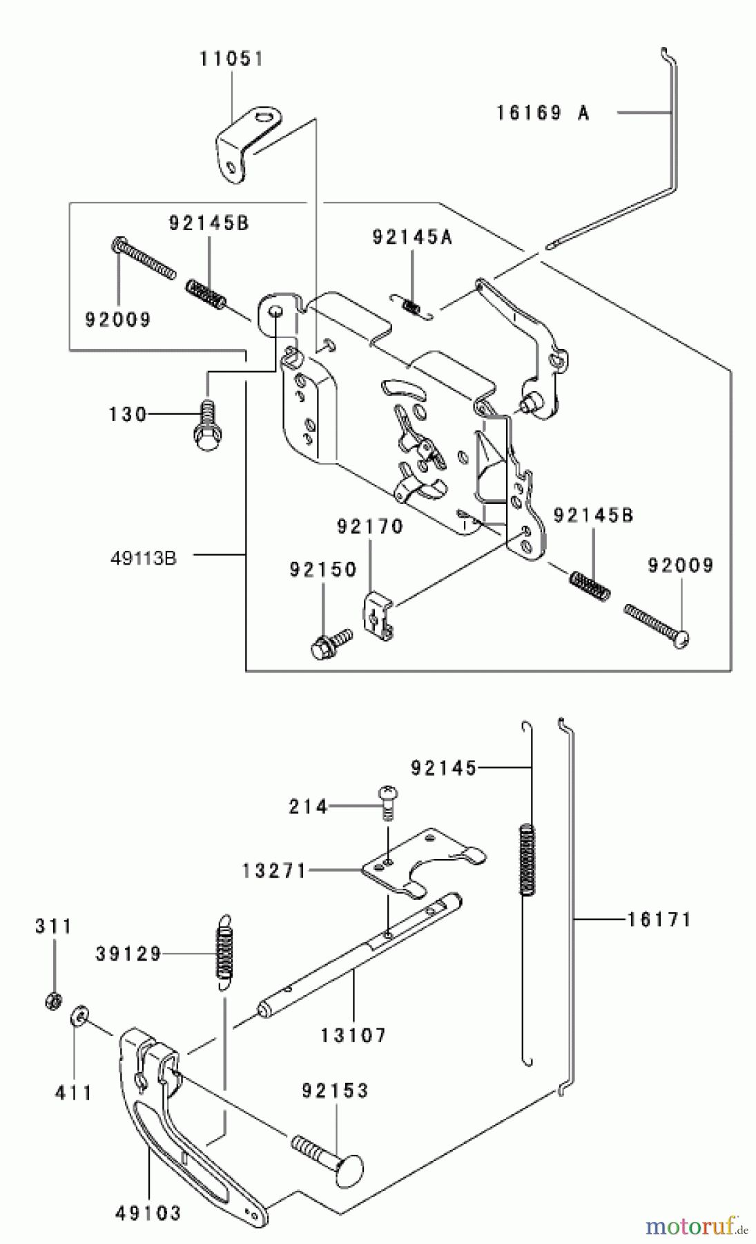
| Posizione | Articolo numero | Descrizione | |
| 11051 | KA110517008 | BRACKET | |
| 13107 | KA131070750 | SHAFT | |
| 13271 | KA132717032 | PLATE | |
| 16169A | KA161697010 | LINK-CHOKE | |
| 16171 | KA161717001 | LINK | |
| 49103 | KA491037004 | ARM-GOVERNOR | |
| 49113B | KA491137056 | PANEL-COMP-CONTROL | |
| 92009 | KA920097007 | SCREW,4X35 | |
| 92145 | KA921457003 | SPRING | |
| 92145A | KA921457032 | SPRING | |
| 92145B | KA921457005 | SPRING | |
| 92150 | ![]() | KA921502182 | BOLT |
| 92153 | KA921537033 | BOLT,6X35 | |
| 92170 | KA921707001 | CLAMP | |
| 130 | KA130AA0612 | BOLT-FLANG | |
| 214 | KA214AA0408 | SCREW-PAN+- | |
| 311 | KA311AA0600 | NUT-HEX | |
| 411 | KA411AA0600 | WASHER-PLAIN | |


Gestione della qualità
Aiutaci a migliorare il nostro sito. Informaci se trovi un errore.


