Toro 74630 (5000) - TimeCutter SS 5000 Riding Mower, 2012 (SN 312000001-312999999) CLUTCH ASSEMBLY Ricambi
CLUTCH ASSEMBLY 74630 (5000) - Toro TimeCutter SS 5000 Riding Mower, 2012 (SN 312000001-312999999)

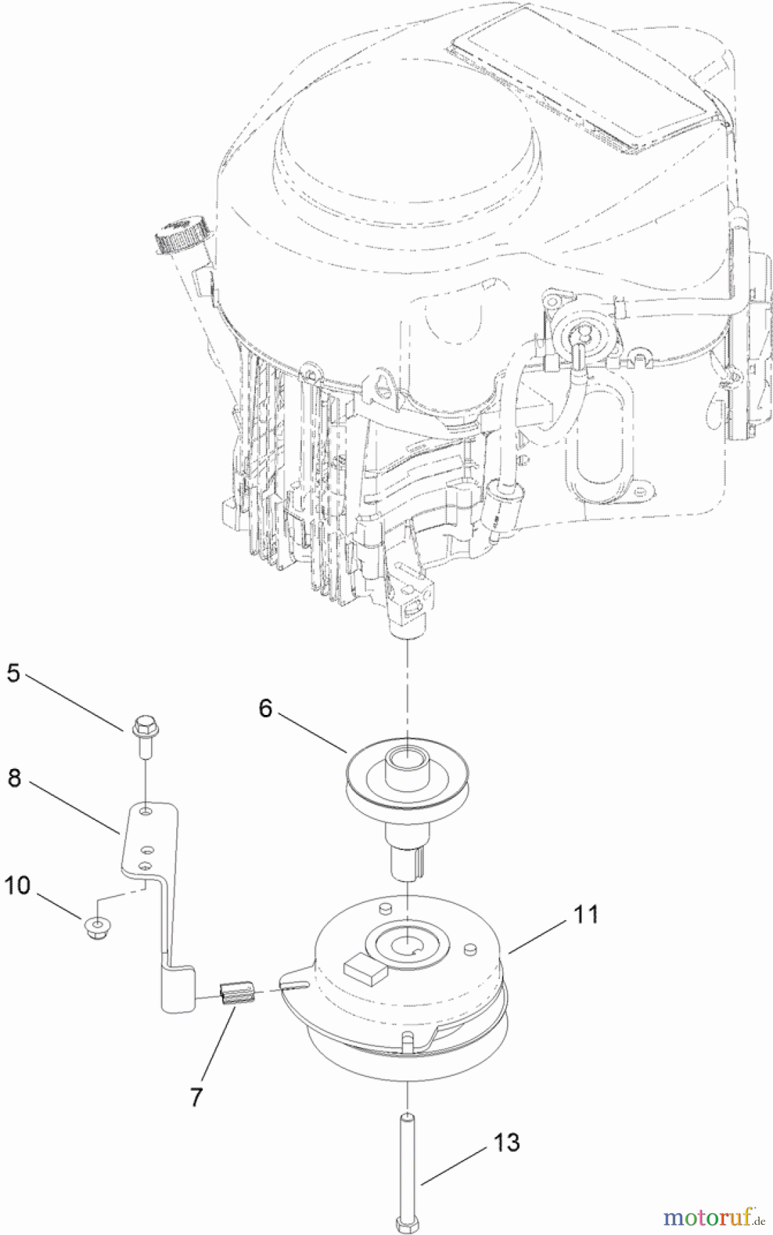
| Posizione | Articolo numero | Descrizione | |
| 5 | TR3234-42 | Innensechskantschraube | |
| 6 | TR119-3318 | PULLEY-ENGINE | |
| 7 | TR120-2217 | ISOLATOR-CLUTCH | |
| 8 | TR119-8885 | STOP-CLUTCH | |
| 10 | TR104-8301 | Mutter | |
| 11 | TR110-6766 | CLUTCH-ELECTRIC, PTO | |
| 13 | TR32121-7 | Stift | |



