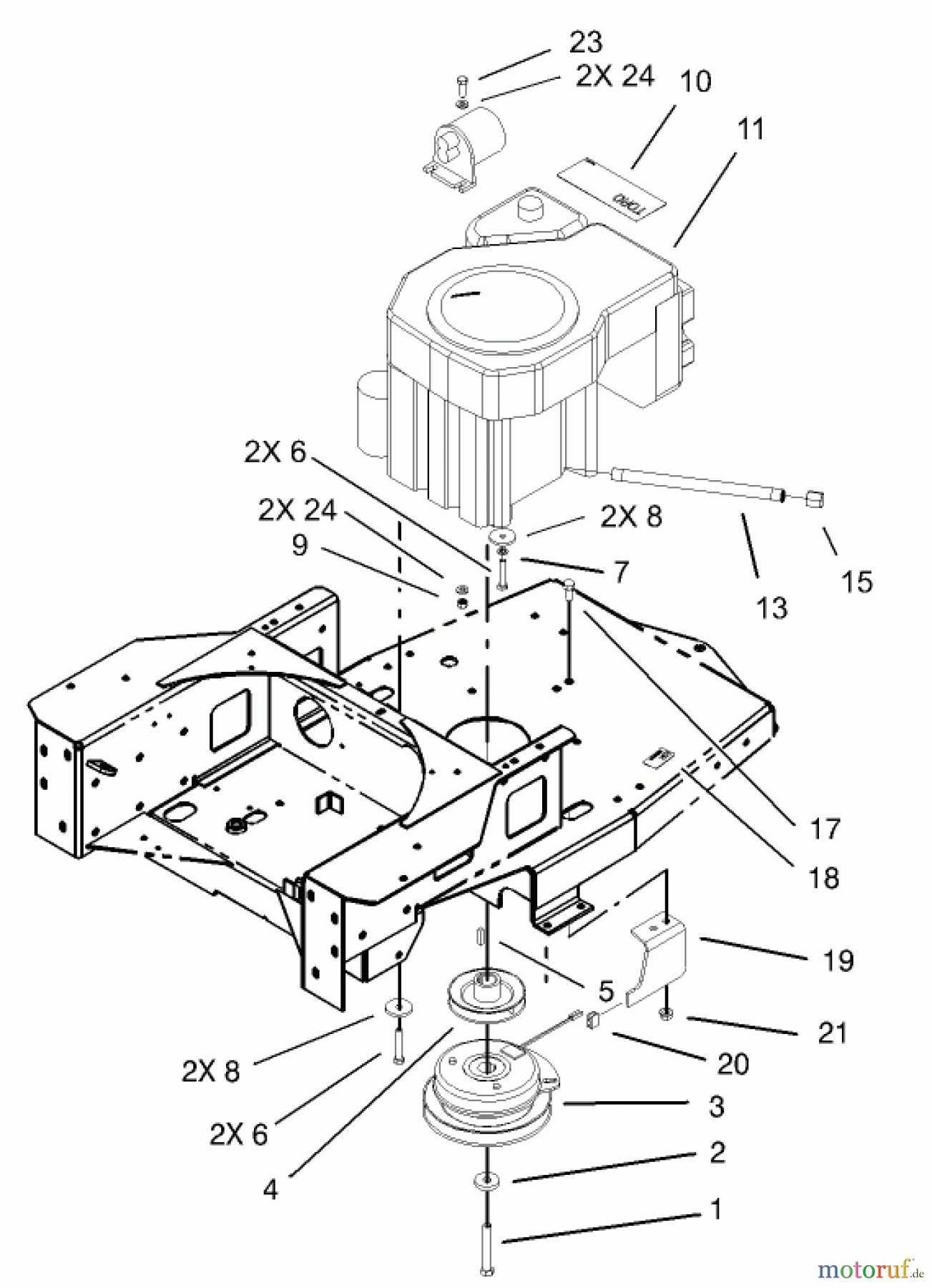
Toro 74601 (17K-44ZX) - 17K-44ZX TimeCutter ZX Riding Mower, 2003 (230000001-230999999) ENGINE AND CLUTCH ASSEMBLY Ricambi
ENGINE AND CLUTCH ASSEMBLY 74601 (17K-44ZX) - Toro 17K-44ZX TimeCutter ZX Riding Mower, 2003 (230000001-230999999)



Gestione della qualità
Aiutaci a migliorare il nostro sito. Informaci se trovi un errore.


