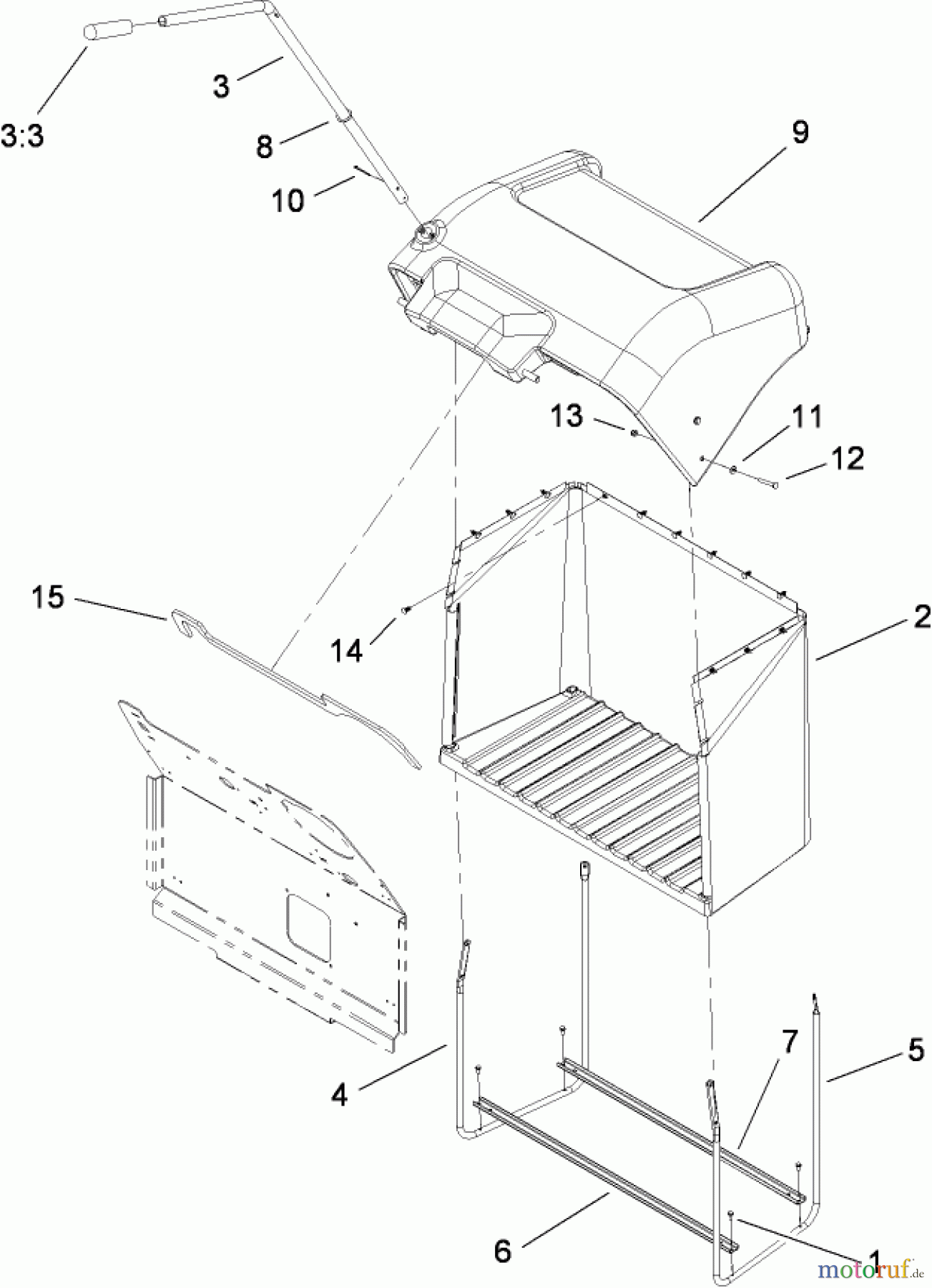
Toro 74437 (ZD420T) - TimeCutter ZD420T Riding Mower, 2011 (311000001-311999999) BAGGING ASSEMBLY Ricambi
BAGGING ASSEMBLY 74437 (ZD420T) - Toro TimeCutter ZD420T Riding Mower, 2011 (311000001-311999999)



Gestione della qualità
Aiutaci a migliorare il nostro sito. Informaci se trovi un errore.

