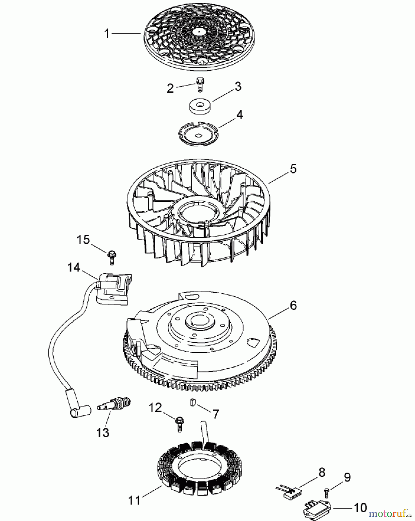
Toro 74399 (Z5020) - TimeCutter Z5020 Riding Mower, 2007 (270000001-270999999) IGNITION AND ELECTRICAL ASSEMBLY KOHLER SV720-0030 Ricambi
IGNITION AND ELECTRICAL ASSEMBLY KOHLER SV720-0030 74399 (Z5020) - Toro TimeCutter Z5020 Riding Mower, 2007 (270000001-270999999)



Gestione della qualità
Aiutaci a migliorare il nostro sito. Informaci se trovi un errore.

