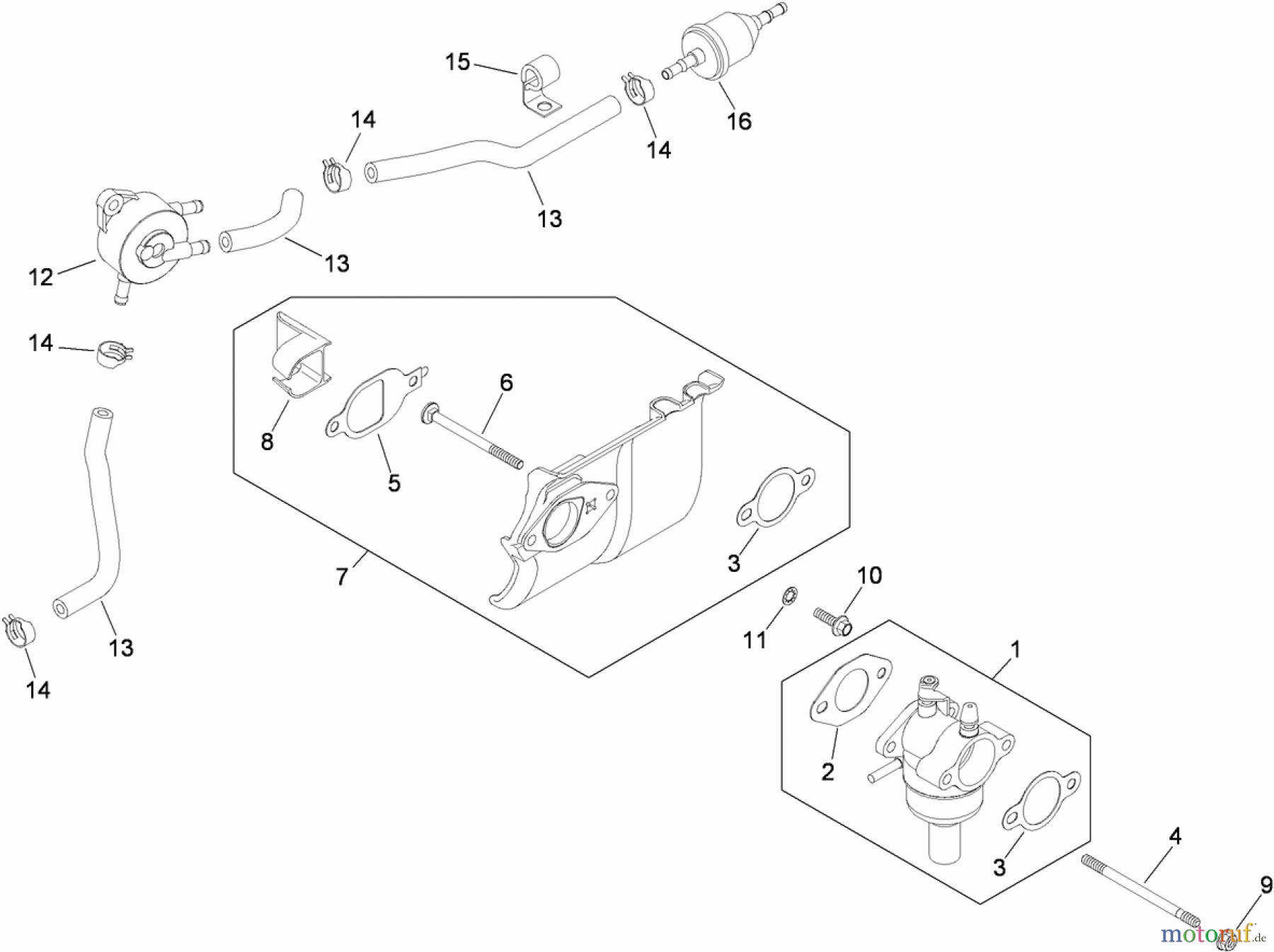
Toro 74363 (Z4200) - TimeCutter Z4220 Riding Mower, 2009 (290000505-290999999) FUEL SYSTEM ASSEMBLY KOHLER SV610-0211 Ricambi
FUEL SYSTEM ASSEMBLY KOHLER SV610-0211 74363 (Z4200) - Toro TimeCutter Z4220 Riding Mower, 2009 (290000505-290999999)



Gestione della qualità
Aiutaci a migliorare il nostro sito. Informaci se trovi un errore.

