.it
Benvenuti
Contatti
Spedizione
L’azienda
Guest book
Condizioni e Privacy
Catalogare
Tagliare, profilare
Componenti per motore
Officine meccaniche
Parti e componentistica per macchine varie
Forestali
Articoli elettrici
Articoli invernali
Cinghie trapezoidali e relative pulegge
Filters
PEZZI DI RICAMBIO
Sprocket Rims
Guide Bars
Chainsaw Chains
Search by Part Number
Diagrammi ed elenchi
Servizio
Determine Chain
Ricerca
Il mio account
Registrati
Log in
Settings
DE
EN
FR
ES
IT
Desktop
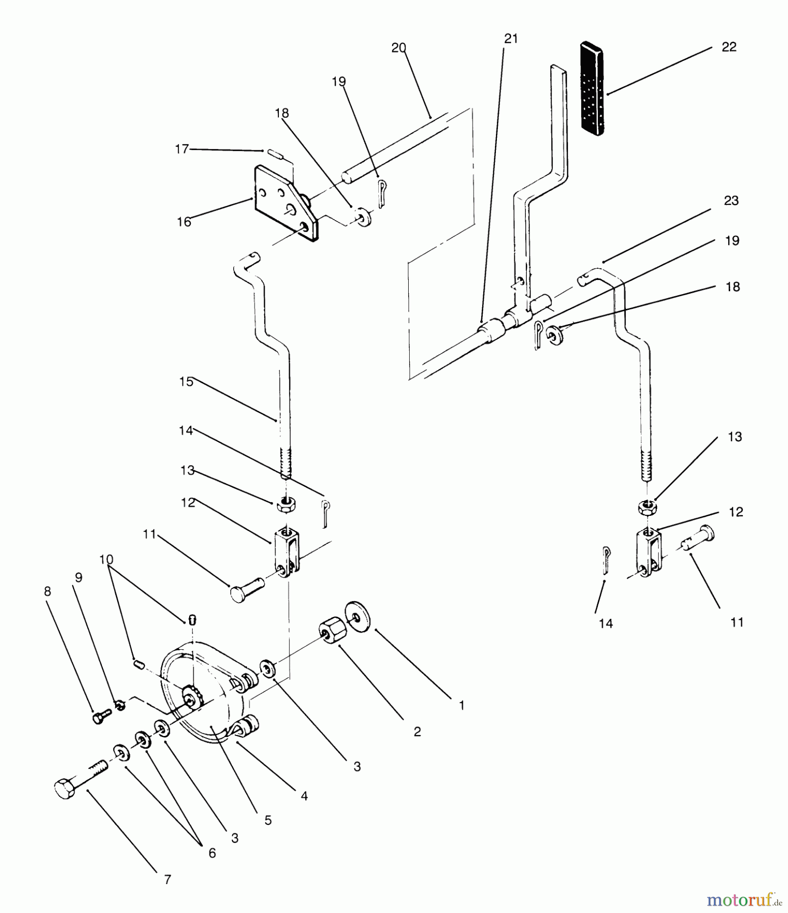
Toro 74140 (724-Z) - 724-Z Tractor, 1995 (590001-599999) PARKING BRAKE Ricambi
Start
Toro Neu
Mowers, Zero-Turn
74140 (724-Z) - Toro 724-Z Tractor, 1995 (590001-599999)
PARKING BRAKE
PARKING BRAKE 74140 (724-Z) - Toro 724-Z Tractor, 1995 (590001-599999)
Posizione
Articolo numero
Descrizione
1
TR2844
WASHER
2
TR113690
NUT-COUPLING
3
TR3256-24
WASHER-FLAT
4
TR113624
BRAKE-BAND
5
TR113518
DISCONTINUED
6
TR108571
Wellenscheibe (20)
7
TR323-7
Schraube
8
TR321-3
SCREW-HH
9
TR103995
Scheibe
10
TR3245-32
Schraube
11
TR283-6
Bolzen
12
TR113623
ASSY-YOKE BRAKE
13
TR3219-2
Mutter
14
TR3272-6
Splint
15
TR115794
ROD-BRAKE R.H.
16
TR116478
ASSY-PARKING BRK *B
17
TR32121-114
SPIROL PIN H D
18
TR3256-23
Scheibe
19
TR3272-6
Splint
20
TR113668
ASSY-PARKING BRK
21
TR113665
SPACER-PARKING BR *B
22
TR62-9130
Handgriff
23
TR115793
DISCONTINUED
Gestione della qualità
Aiutaci a migliorare il nostro sito. Informaci se trovi un errore.