.it
Benvenuti
Contatti
Spedizione
L’azienda
Guest book
Condizioni e Privacy
Catalogare
Tagliare, profilare
Componenti per motore
Officine meccaniche
Parti e componentistica per macchine varie
Forestali
Articoli elettrici
Articoli invernali
Cinghie trapezoidali e relative pulegge
Filters
PEZZI DI RICAMBIO
Sprocket Rims
Guide Bars
Chainsaw Chains
Search by Part Number
Diagrammi ed elenchi
Servizio
Determine Chain
Ricerca
Il mio account
Registrati
Log in
Settings
DE
EN
FR
ES
IT
Desktop
Toro 74140 (724-Z) - 724-Z Tractor, 1995 (590001-599999) CHOKE LINKAGE Ricambi
Start
Toro Neu
Mowers, Zero-Turn
74140 (724-Z) - Toro 724-Z Tractor, 1995 (590001-599999)
CHOKE LINKAGE
CHOKE LINKAGE 74140 (724-Z) - Toro 724-Z Tractor, 1995 (590001-599999)
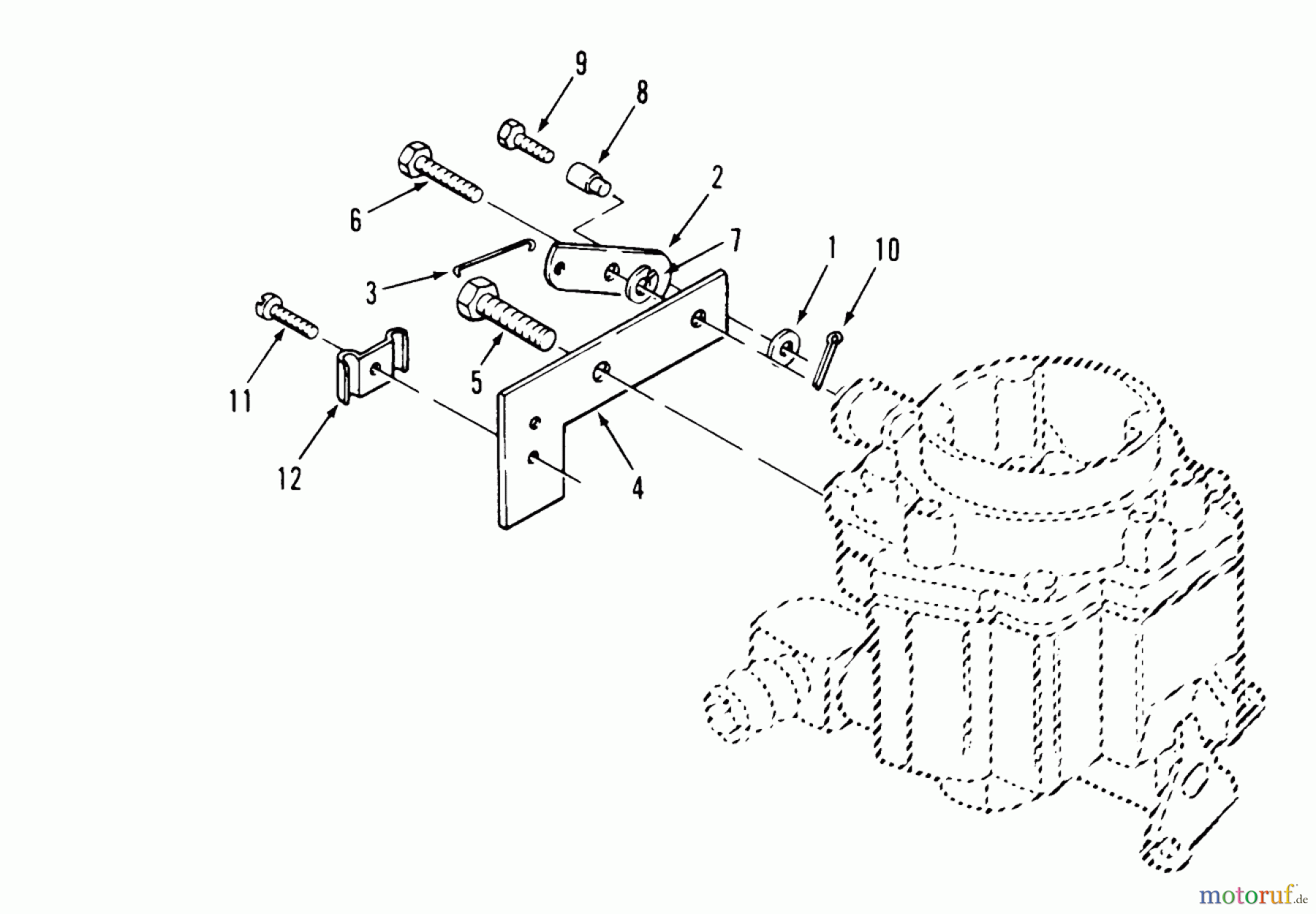
Posizione
Articolo numero
Descrizione
1
TR59-0850
SCHEIBE
2
TR59-0460
SWIVEL-CHOKE
3
TR57-9180
Gestaenge
4
TR59-0470
Hebel
5
TR72-3880
SCREW-HWH
6
TR59-1020
BOLT-SHOULDER
7
TR82-1660
Federring
8
TR57-9170
Bowdenzugfuehrung
9
TR72-3890
Schraube
10
TR59-0720
PIN-COTTER
11
TR72-3900
Schraube
12
TR57-9190
CLIP
Gestione della qualità
Aiutaci a migliorare il nostro sito. Informaci se trovi un errore.