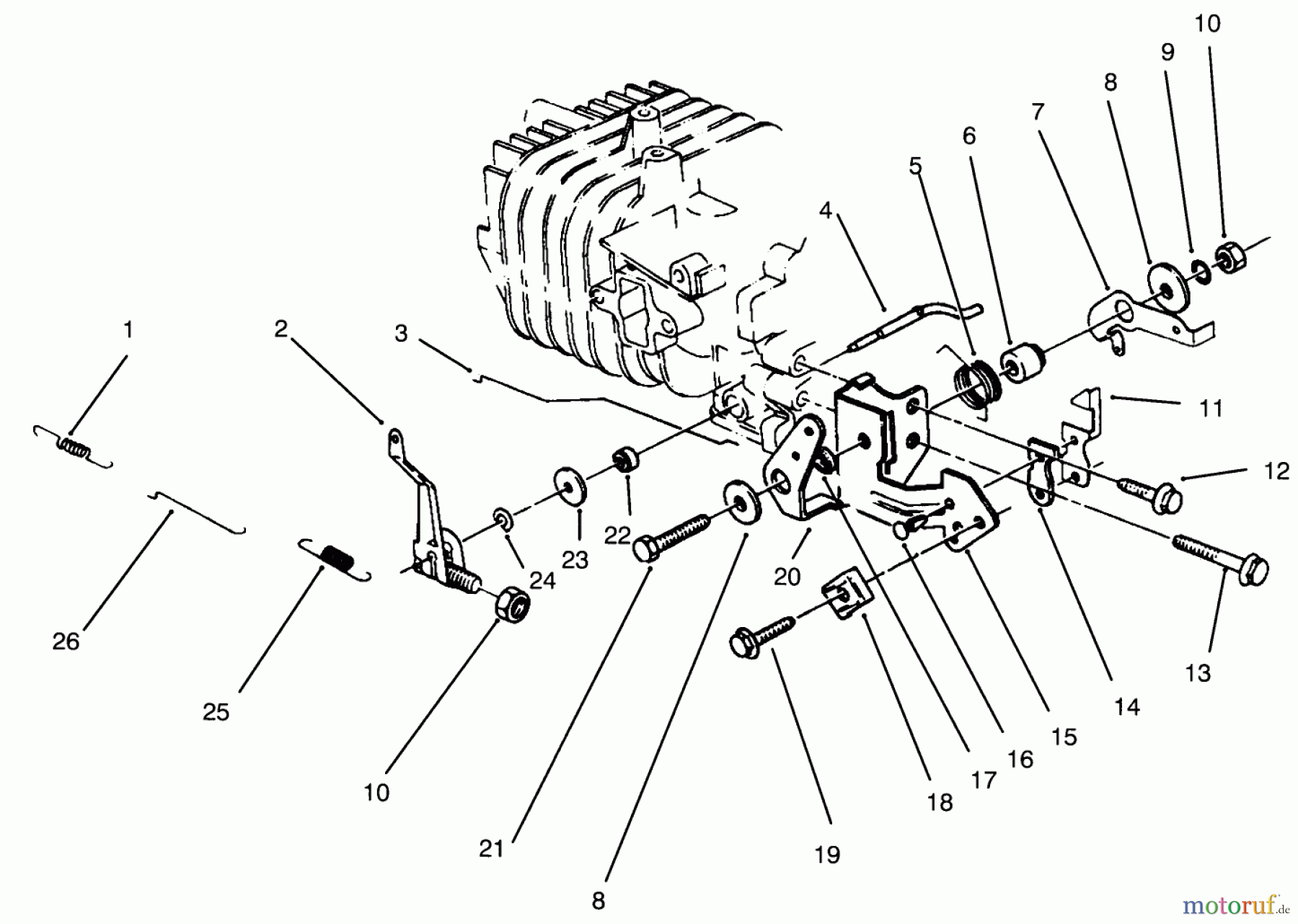
Toro 22700B - 21" Commercial, Side Discharge Mower, 1994 (49000001-49999999) GOVERNOR ASSEMBLY (MODEL NO. 47PP3-3) Ricambi
GOVERNOR ASSEMBLY (MODEL NO. 47PP3-3) 22700B - Toro 21" Commercial, Side Discharge Mower, 1994 (49000001-49999999)



Gestione della qualità
Aiutaci a migliorare il nostro sito. Informaci se trovi un errore.


