Toro 22581 - Lawnmower, 1991 (1000001-1999999) BRAKE ASSEMBLY Ricambi
BRAKE ASSEMBLY 22581 - Toro Lawnmower, 1991 (1000001-1999999)

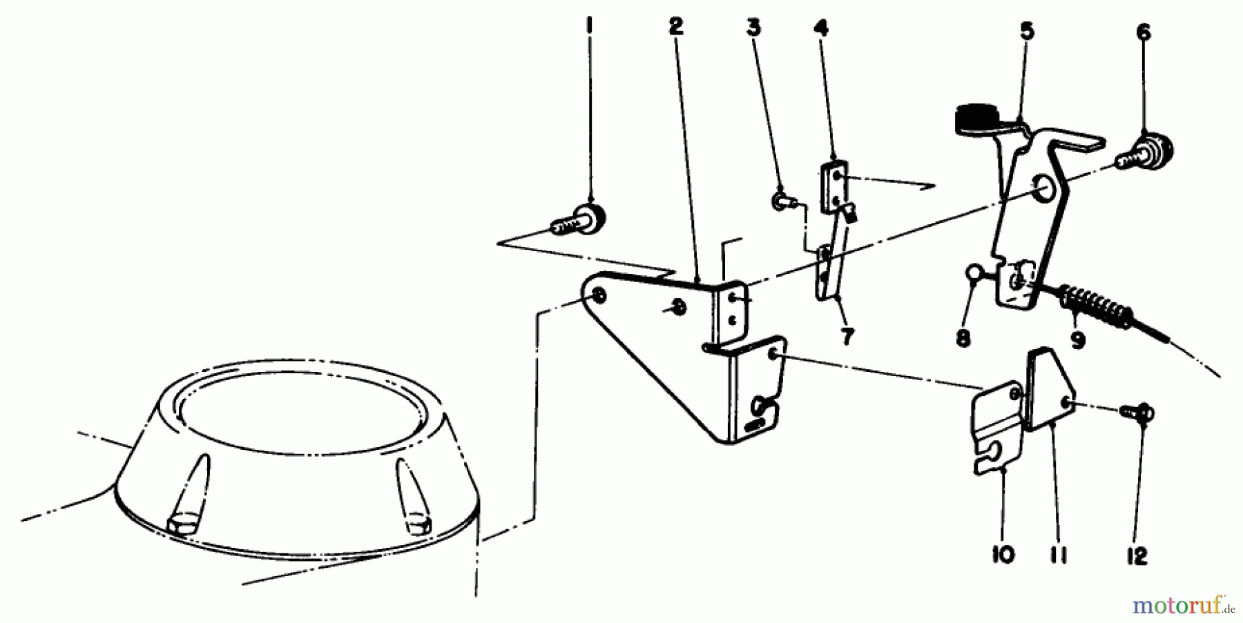
| Posizione | Articolo numero | Descrizione | |
| 1 | TR46-0790 | DISCONTINUED | |
| 2 | TR14-6009 | Platte | |
| 3 | TR3290-459 | Niete | |
| 4 | TR77-5260 | Isolierstueck | |
| 5 | TR66-5380 | Halteplatte Kpl. | |
| 6 | TR92-9698 | Schraube | |
| 7 | TR60-9010 | Federblech | |
| 8 | TR56-6097 | BRAKE CABLE | |
| 9 | TR66-5370 | Feder | |
| 10 | TR53-4610 | Bowdenzugklemme | |
| 11 | TR53-4690 | Abdeckung | |
| 12 | TR12-5450 | Schraube | |
| TR12-4599 | 14-6009 | ||


Gestione della qualità
Aiutaci a migliorare il nostro sito. Informaci se trovi un errore.

