.it
Carrello
vuoto
Il mio account
Registrati
Log in
Benvenuti
Contatti
Spedizione
L’azienda
Guest book
Condizioni e Privacy
Catalogare
Tagliare, profilare
Componenti per motore
Officine meccaniche
Parti e componentistica per macchine varie
Forestali
Articoli elettrici
Articoli invernali
Cinghie trapezoidali e relative pulegge
Filters
PEZZI DI RICAMBIO
Sprocket Rims
Guide Bars
Chainsaw Chains
Search by Part Number
Diagrammi ed elenchi
Servizio
Determine Chain
Ricerca
DE
EN
FR
ES
IT
Versione mobile
Toro 22142 - Lawnmower, 1997 (7900001-7999999) TRACTION CONTROL ASSEMBLY Ricambi
Start
Toro Neu
Mowers, Walk-Behind
Seite 2
22142 - Toro Lawnmower, 1997 (7900001-7999999)
TRACTION CONTROL ASSEMBLY
TRACTION CONTROL ASSEMBLY 22142 - Toro Lawnmower, 1997 (7900001-7999999)
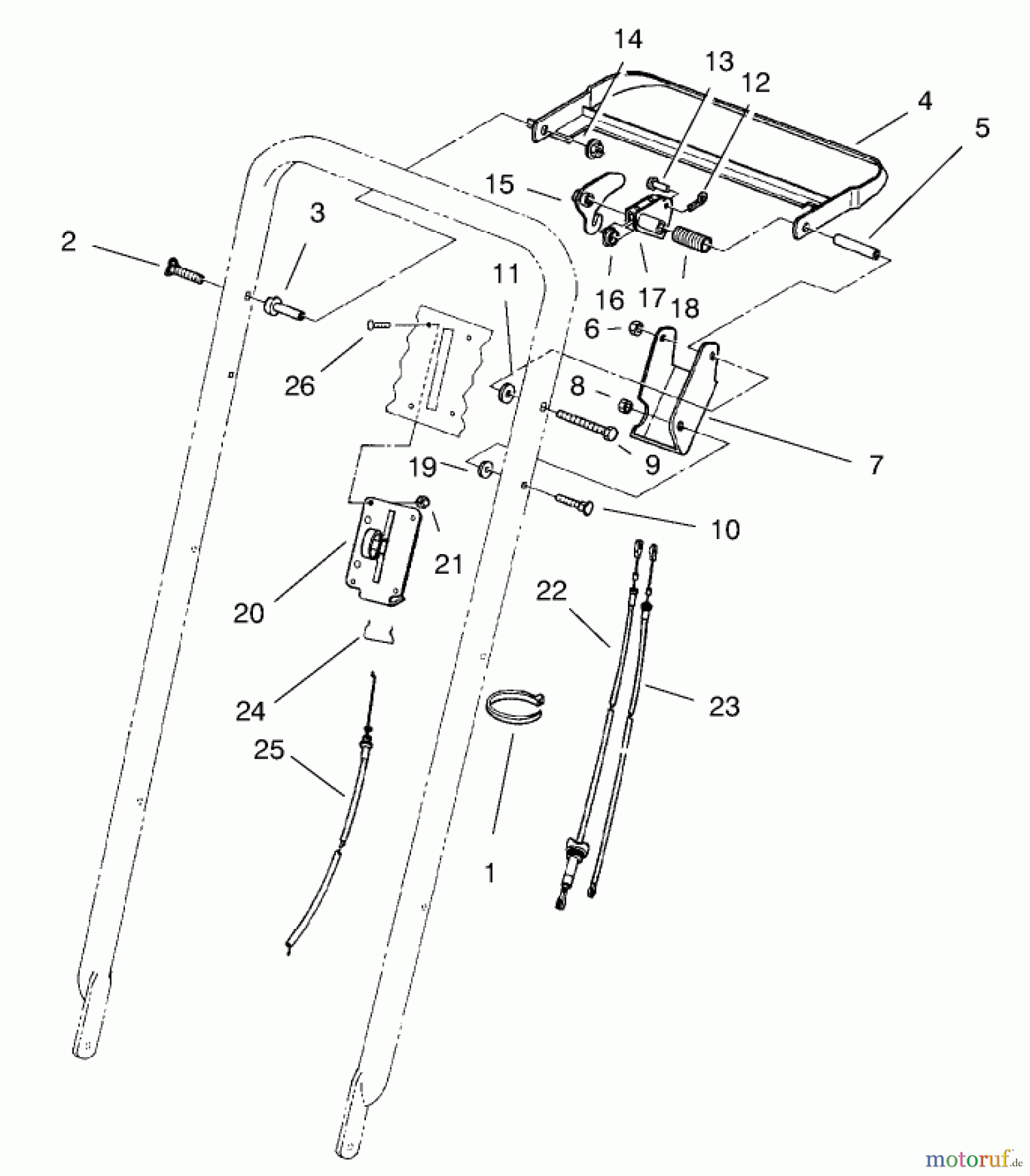
Posizione
Articolo numero
Descrizione
1
TR3290-378
KABELHALTER
2
TR17-9427
SCREW
3
TR49-1631
Buechse
4
TR84-8940-03
Schaltbuegel
5
TR84-9030
Distanzbuechse
6
TR3296-29
Mutter
7
TR92-1778-03
BRACKET-CONTROL
8
TR3296-42
Mutter
9
TR322-19
Schraube
10
TR46-6430
SCREW-HANDLE
11
TR71-9310
SPACER
12
TR3272-1
Splint
13
TR84-9040
Bolzen
14
TR3296-58
Mutter
15
TR84-9000
LEVER-TRACTION
16
TR86-9320
Buechse
17
TR84-8990
Bremshebel
18
TR85-6750
Druckfeder
19
TR71-9320
Scheibe
20
TR85-6770
Gashebel
21
TR3296-2
Mutter
22
TR84-9120
Getriebezug
23
TR84-9110
Kupplungszug
24
TR85-6780
Halterung
25
TR85-6840
Gaszug
26
TR3250-14
Schraube
Gestione della qualità
Aiutaci a migliorare il nostro sito. Informaci se trovi un errore.