.it
Carrello
vuoto
Il mio account
Registrati
Log in
Benvenuti
Contatti
Spedizione
L’azienda
Guest book
Condizioni e Privacy
Catalogare
Tagliare, profilare
Componenti per motore
Officine meccaniche
Parti e componentistica per macchine varie
Forestali
Articoli elettrici
Articoli invernali
Cinghie trapezoidali e relative pulegge
Filters
PEZZI DI RICAMBIO
Sprocket Rims
Guide Bars
Chainsaw Chains
Search by Part Number
Diagrammi ed elenchi
Servizio
Determine Chain
Ricerca
DE
EN
FR
ES
IT
Versione mobile
Toro 22026 - Side Discharge Mower, 1997 (7900001-7999999) HANDLE ASSEMBLY Ricambi
Start
Toro Neu
Mowers, Walk-Behind
Seite 2
22026 - Toro Side Discharge Mower, 1997 (7900001-7999999)
HANDLE ASSEMBLY
HANDLE ASSEMBLY 22026 - Toro Side Discharge Mower, 1997 (7900001-7999999)
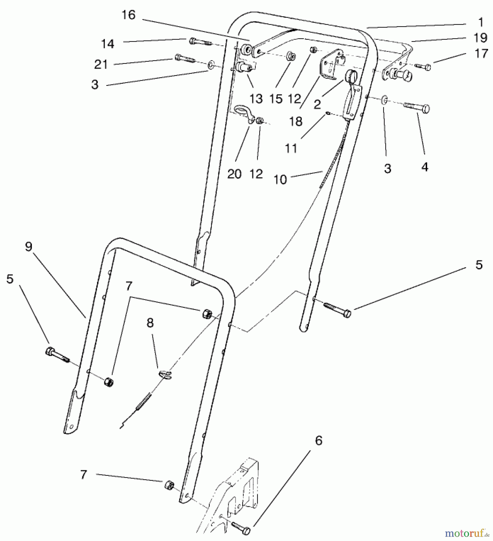
Posizione
Articolo numero
Descrizione
1
TR74-2150
74-2150-03
2
TR82-9950
CONTROL-THROTTLE
3
TR3-7501
Scheibe
4
TR321-13
Schraube
5
TR322-7
Schraube
6
TR322-6
Schraube
7
TR3296-29
Mutter
8
TR3290-378
KABELHALTER
9
TR52-2370-03
LOWER HANDLE
10
TR70-1062
CABLE-THROTTLE
11
TR32151-86
E-RING
12
TR3296-42
Mutter
13
TR49-1630
SPACER-SUPPORT
14
TR322-10
Schraube
15
TR3296-58
Mutter
16
TR256-276
SPACER-NYLON
17
TR321-4
Schraube
18
TR66-5350
Kontrollhebel
19
TR61-8270-03
Schaltbuegel
20
TR46-8081
SEILFUEHRUNG
21
TR321-9
SCREW-HH
Gestione della qualità
Aiutaci a migliorare il nostro sito. Informaci se trovi un errore.