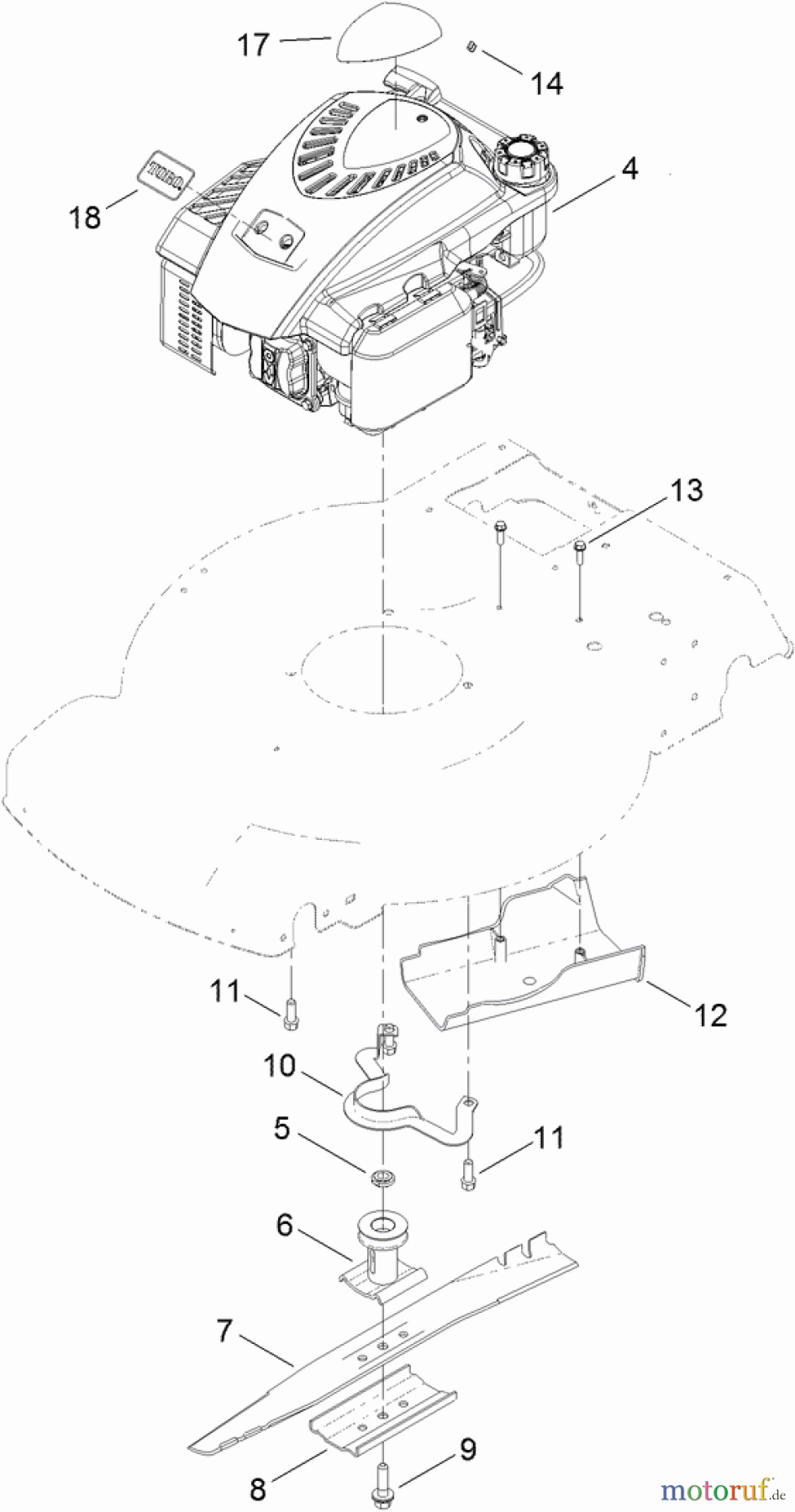
Toro 20374 - 22" Recycler Lawn Mower, 2012 (SN 312000001-312999999) ENGINE AND BLADE ASSEMBLY Ricambi
ENGINE AND BLADE ASSEMBLY 20374 - Toro 22" Recycler Lawn Mower, 2012 (SN 312000001-312999999)



Gestione della qualità
Aiutaci a migliorare il nostro sito. Informaci se trovi un errore.

