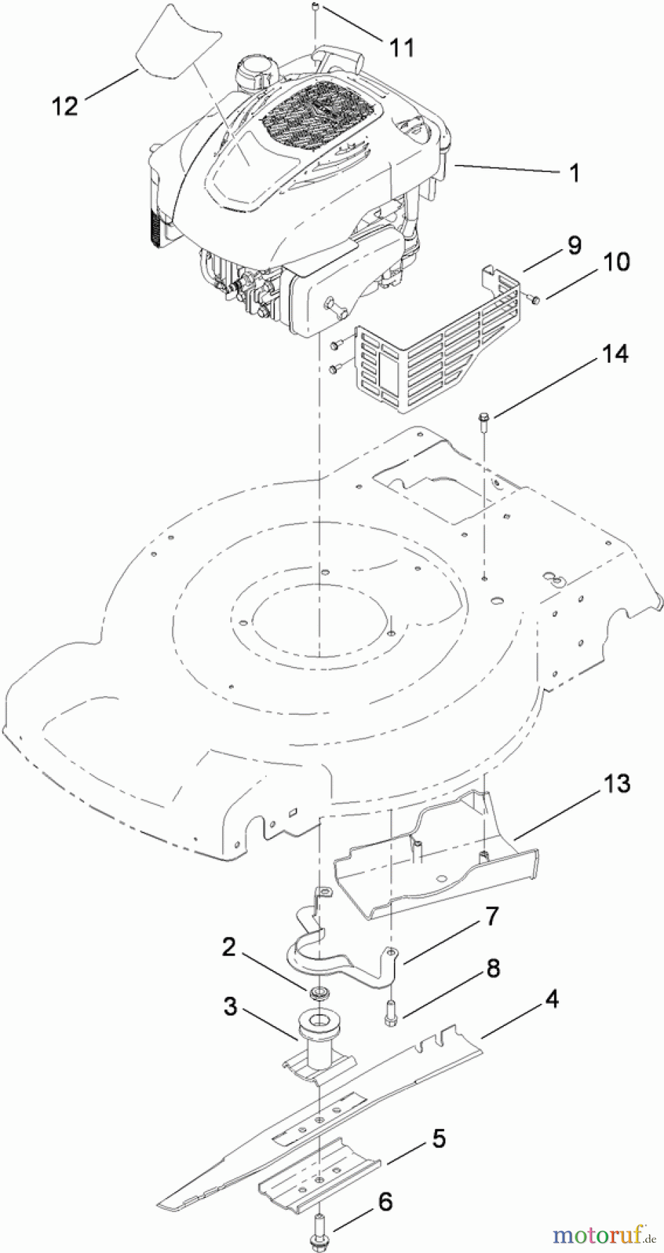
Toro 20334 - 22" Recycler Lawn Mower, 2011 (311000001-311999999) ENGINE AND BLADE ASSEMBLY Ricambi
ENGINE AND BLADE ASSEMBLY 20334 - Toro 22" Recycler Lawn Mower, 2011 (311000001-311999999)



Gestione della qualità
Aiutaci a migliorare il nostro sito. Informaci se trovi un errore.

