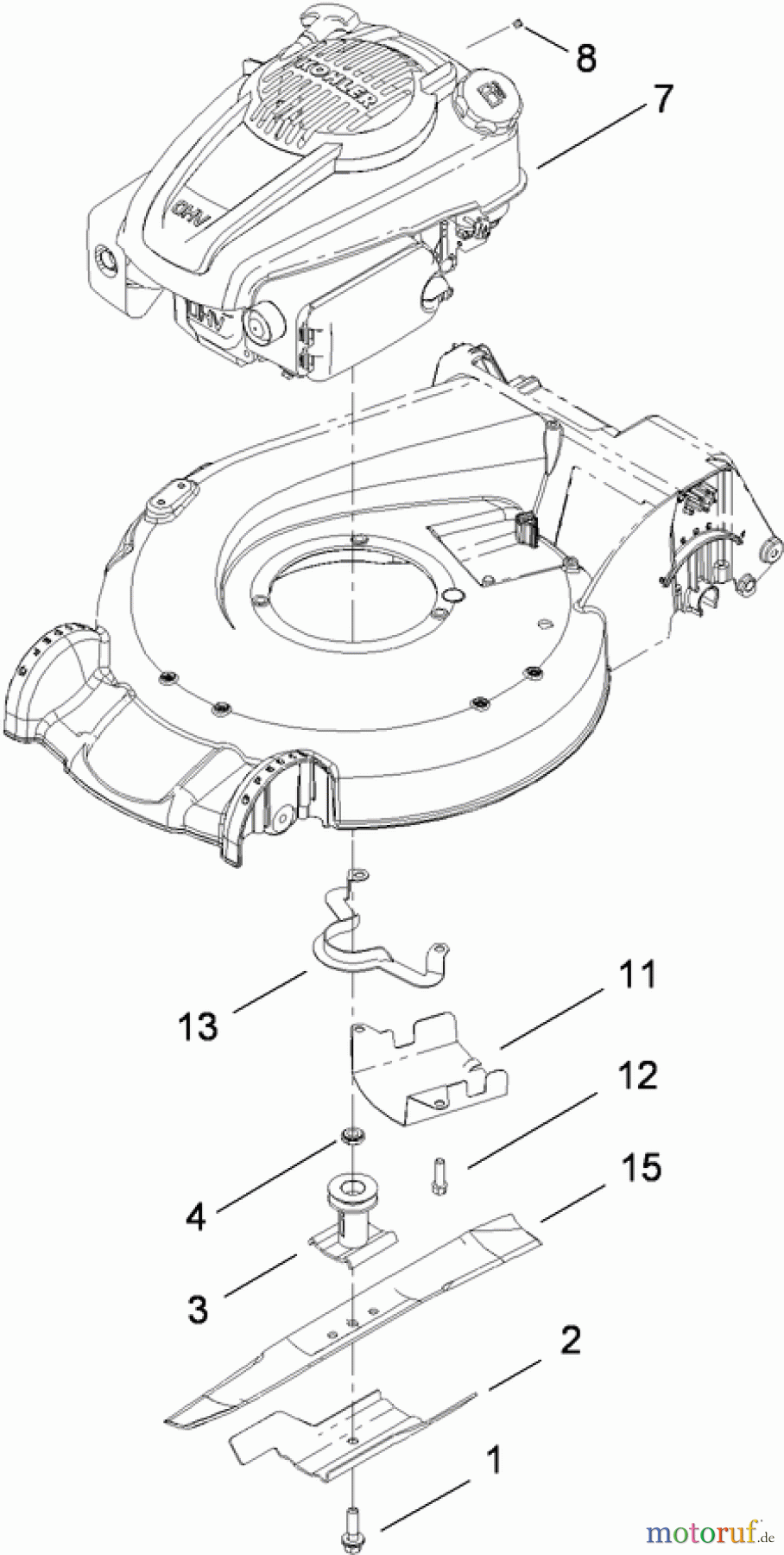
Toro 20099 - Super Recycler Lawn Mower, 2010 (310000310-310999999) ENGINE AND BLADE ASSEMBLY Ricambi
ENGINE AND BLADE ASSEMBLY 20099 - Toro Super Recycler Lawn Mower, 2010 (310000310-310999999)

| Posizione | Articolo numero | Descrizione | |
| 1 | TR117-5270 | BOLT-BLADE | |
| 2 | TR105-6848-03 | ACCELERATOR-BLADE | |
| 3 | TR114-2774 | DRIVER-BLADE | |
| 4 | TR106-3999 | SPACER-DRIVER | |
| 7 | TR | ||
| 8 | TR92-1701 | Seilfuehrung | |
| 11 | TR107-7489-03 | SHIELD-GRASS | |
| 12 | TR95-1727 | SCREW-TAPTITE | |
| 13 | TR108-8110-03 | GUIDE-BELT | |
| 15 | TR108-3762-03 | Messer Recycler | |


Gestione della qualità
Aiutaci a migliorare il nostro sito. Informaci se trovi un errore.

