Toro 03108 - 58" Professional, 1981 (1000001-1999999) CONTROLS Ricambi
CONTROLS 03108 - Toro 58" Professional, 1981 (1000001-1999999)

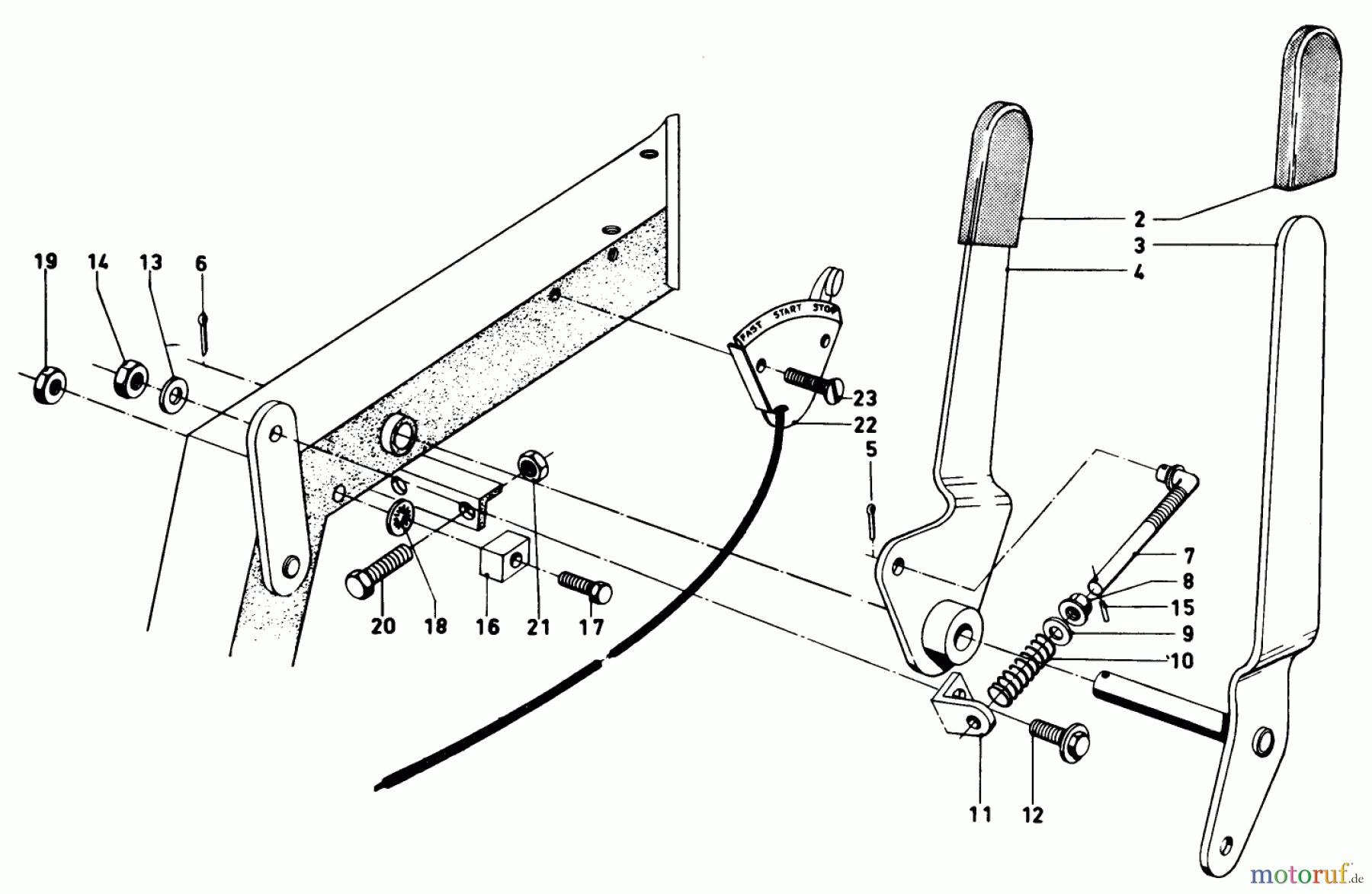
| Posizione | Articolo numero | Descrizione | |
| 2 | TR3-7877 | Handgriff | |
| 3 | TR3-7164 | DISCONTINUED | |
| 4 | TR3-7162 | DISCONTINUED | |
| 5 | TR3272-6 | Splint | |
| 6 | TR3272-10 | PIN-COTTER | |
| 7 | TR3-6718 | GESTAENGE | |
| 8 | TR32146-4 | Mutter | |
| 9 | TR3256-2 | Scheibe | |
| 10 | TR3-6685 | Feder | |
| 11 | TR3-6725 | PIVOT BRACKET | |
| 12 | TR3-7166 | Bolzen | |
| 13 | TR3253-3 | Federring | |
| 14 | TR3220-1 | Mutter | |
| 15 | TR32121-7 | Stift | |
| 16 | TR3-7168 | Anschlagstueck | |
| 17 | TR322-14 | Schraube | |
| 18 | TR3290-244 | WASHER-LOCK | |
| 19 | TR32127-45 | ||
| 20 | TR329-6 | SCHRAUBE | |
| 21 | TR3219-1 | Mutter | |
| 22 | TR3-7257 | HEBEL | |
| 23 | TR32104-72 | 10-24 X 1 PAN HD SCR | |


Gestione della qualità
Aiutaci a migliorare il nostro sito. Informaci se trovi un errore.

