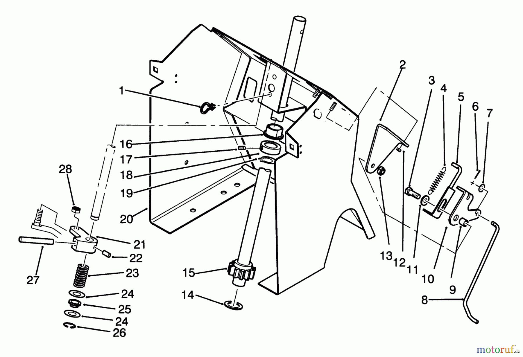
Toro 72041 (244-H) - 244-H Yard Tractor, 1993 (3900001-3999999) STEERING SHAFT AND INDICATOR ASSEMBLY Ricambi
STEERING SHAFT AND INDICATOR ASSEMBLY 72041 (244-H) - Toro 244-H Yard Tractor, 1993 (3900001-3999999)



Gestione della qualità
Aiutaci a migliorare il nostro sito. Informaci se trovi un errore.



