Toro 13AX60RH544 (LX460) - LX460 Lawn Tractor, 2006 (1A056B50000-) SINGLE PULLEY SPINDLE ASSEMBLY NO. 112-0311 Ricambi
SINGLE PULLEY SPINDLE ASSEMBLY NO. 112-0311 13AX60RH544 (LX460) - Toro LX460 Lawn Tractor, 2006 (1A056B50000-)

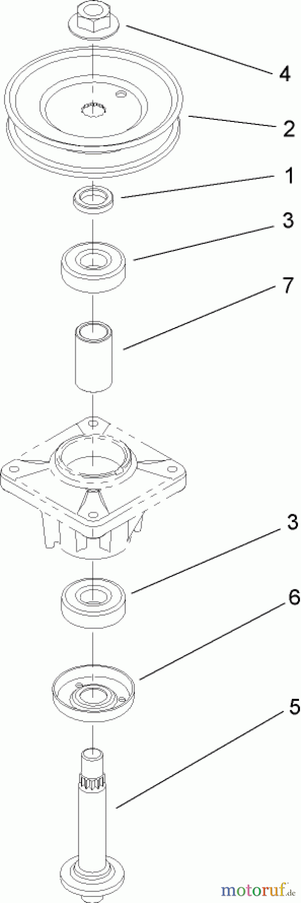
| Posizione | Articolo numero | Descrizione | |
| 1 | TR112-0600 | SPACER | |
| 2 | TR112-0358 | PULLEY-DECK | |
| 3 | TR112-0377 | BEARING-BALL | |
| 4 | TR112-0330 | NUT-LOCK, FLANGE | |
| 5 | TR112-5922 | SHAFT-SPINDLE | |
| 6 | TR112-5923 | BEARING-SHOULDER | |
| 7 | TR112-0654 | SPACER | |


Gestione della qualità
Aiutaci a migliorare il nostro sito. Informaci se trovi un errore.

