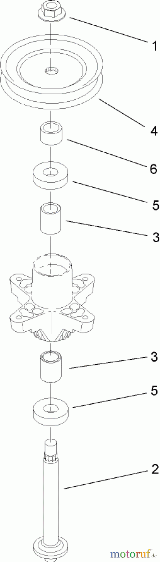
Toro 13AX60RG544 (LX420) - LX420 Lawn Tractor, 2006 (1L215B10000-) SPINDLE ASSEMBLY NO. 112-0460 Ricambi
SPINDLE ASSEMBLY NO. 112-0460 13AX60RG544 (LX420) - Toro LX420 Lawn Tractor, 2006 (1L215B10000-)

| Posizione | Articolo numero | Descrizione | |
| 1 | TR112-0668 | NUT-LOCK, FLANGE | |
| 2 | TR112-0884 | SHAFT-SPINDLE, BLADE (STAR) | |
| 3 | TR112-0389 | SPACER | |
| 4 | TR112-0613 | PULLEY-DECK | |
| 5 | TR112-0377 | BEARING-BALL | |
| 6 | TR112-5924 | SPACER | |



