.it
Carrello
vuoto
Il mio account
Registrati
Log in
Benvenuti
Contatti
Spedizione
L’azienda
Guest book
Condizioni e Privacy
Catalogare
Tagliare, profilare
Componenti per motore
Officine meccaniche
Parti e componentistica per macchine varie
Forestali
Articoli elettrici
Articoli invernali
Cinghie trapezoidali e relative pulegge
Filters
PEZZI DI RICAMBIO
Sprocket Rims
Guide Bars
Chainsaw Chains
Search by Part Number
Diagrammi ed elenchi
Servizio
Determine Chain
Ricerca
DE
EN
FR
ES
IT
Versione mobile
Toro 02-11BH01 (SB-371) - SB-371 3-Speed Lawn Tractor, 1982 PTO CLUTCH Ricambi
Start
Toro Neu
Mowers, Lawn & Garden Tractor
Seite 1
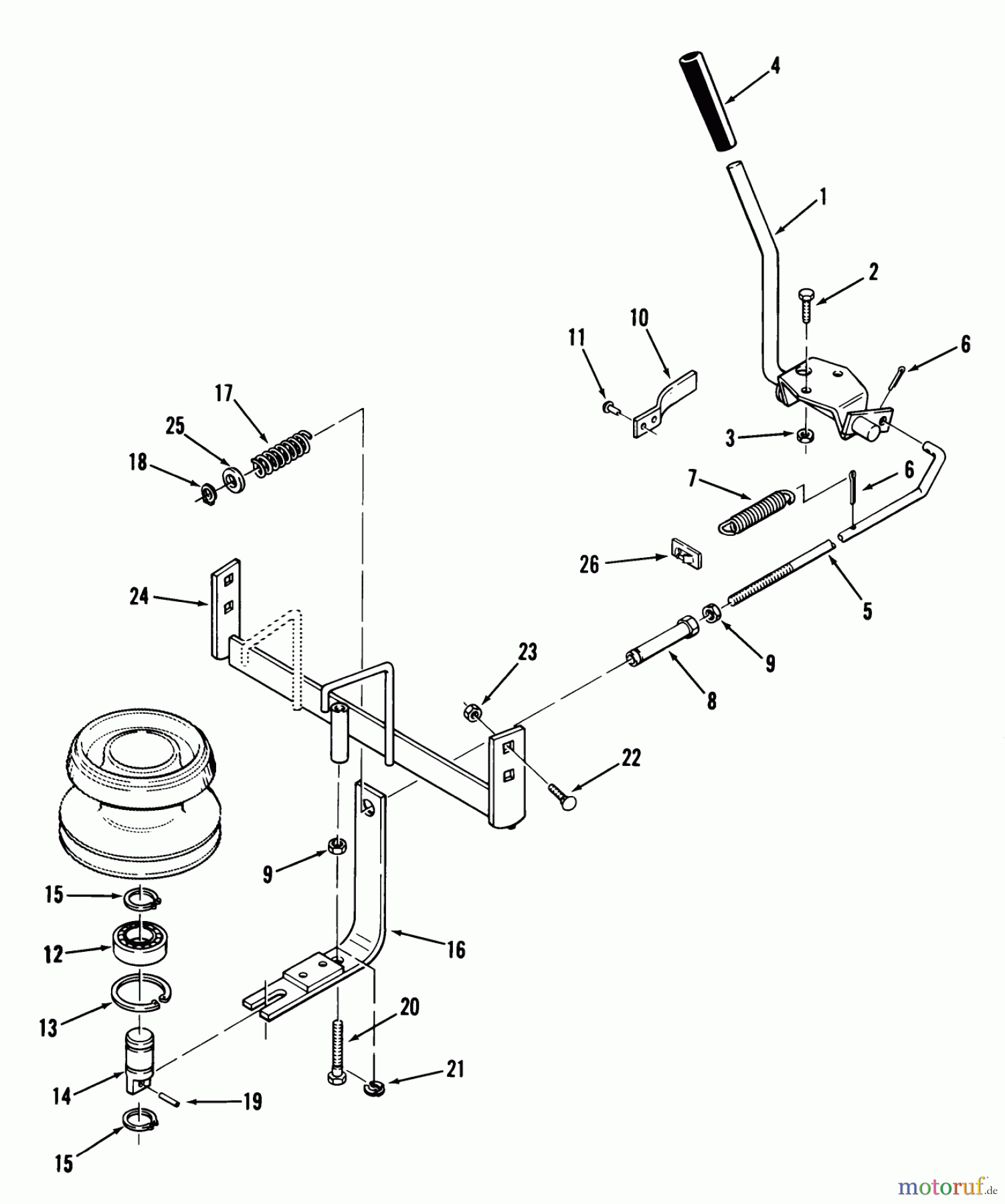
02-11BH01 (SB-371) - Toro SB-371 3-Speed Lawn Tractor, 1982
PTO CLUTCH
PTO CLUTCH 02-11BH01 (SB-371) - Toro SB-371 3-Speed Lawn Tractor, 1982
Posizione
Articolo numero
Descrizione
1
TR106627
DISCONTINUED
2
TR322-2
Schraube
3
TR3217-6
NUT-HEX
4
TR9038
Griff
5
TR111181
Gestaenge F. Kupplung
6
TR3272-6
Splint
7
TR1014
DUP PART SEE $BOOK
8
TR107818
Zwischenbuechse
9
TR3218-2
NUT-JAM
10
TR108234
SPRING
11
TR923784
RIVET
12
TR109842
Kugellager
13
TR32120-62
Ring
14
TR111084
DISCONTINUED
15
TR32120-72
RING
16
TR109346
Bremshebel
17
TR106573
Feder
18
TR32151-61
Sicherungsring
19
TR93-3198
ACHSSCHENKEL
20
TR107748
Einstellschraube (2)
21
TR32151-73
RING-CLIP
22
TR3230-1
Schraube
23
TR915112
MUTTER (10)
24
TR106578
DISCONTINUED
25
TR92-0259
OPERATOR MANUAL
26
TR7721
Blechmutter pck (20)
Gestione della qualità
Aiutaci a migliorare il nostro sito. Informaci se trovi un errore.