.it
Carrello
vuoto
Il mio account
Registrati
Log in
Benvenuti
Contatti
Spedizione
L’azienda
Guest book
Condizioni e Privacy
Catalogare
Tagliare, profilare
Componenti per motore
Officine meccaniche
Parti e componentistica per macchine varie
Forestali
Articoli elettrici
Articoli invernali
Cinghie trapezoidali e relative pulegge
Filters
PEZZI DI RICAMBIO
Sprocket Rims
Guide Bars
Chainsaw Chains
Search by Part Number
Diagrammi ed elenchi
Servizio
Determine Chain
Ricerca
DE
EN
FR
ES
IT
Versione mobile
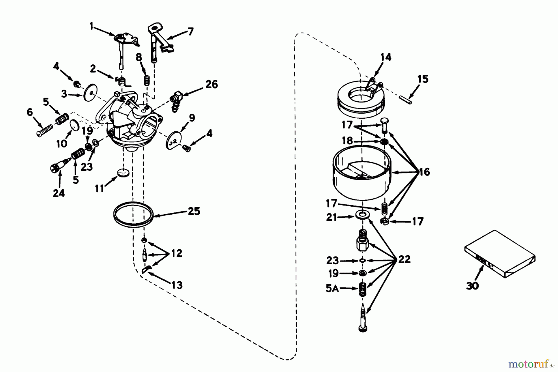
Toro 40114 - Power Handle, 1973 (3000001-3999999) CARBURETOR NO. 631512 Ricambi
Start
Toro Neu
Mowers, Drive Unit Only
40114 - Toro Power Handle, 1973 (3000001-3999999)
CARBURETOR NO. 631512
CARBURETOR NO. 631512 40114 - Toro Power Handle, 1973 (3000001-3999999)
Posizione
Articolo numero
Descrizione
1
TC631615
WELLE U, HEBEL
2
TC631767
FEDER
3
TC631036
SHUTTER
4
TC650506
SCHRAUBE
5
TC630766
SPRING
5A
TC630738
FEDER
6
TC651025
SCHRAUBE
7
TC631513
8
TC630735
SPRING
9
TC31837
DROSSELKLAPPE
10
TC630748
WELCH PLUG
11
TC631027
WELCH PLUG
12
TC631021B
INLET NEEDLE
13
TC631022
KLEMME
14
TC632019A
FLOAT
15
TC631024
FLOAT SHAFT
16
TC631951
FLOAT BOWL
17
TC27136A
OELABLASSCHRAUBE
18
TC27554
DICHTUNG
19
TC630739
WASHER
21
TC27110A
DICHTUNG
22
TC31839
EINSTELLSCHRAUBE
23
TC630740
O-RING
24
TC631838
ADJ SCREW
25
TC631028A
DICHTUNG
26
TC632527
AUSLASSTUTZEN
30
TC31840
REPARATURSATZ
Gestione della qualità
Aiutaci a migliorare il nostro sito. Informaci se trovi un errore.