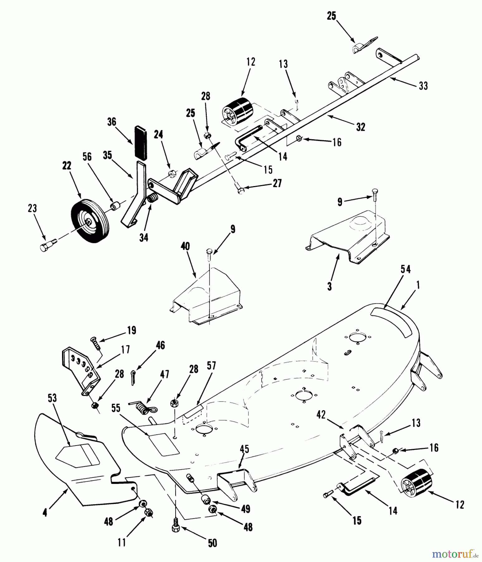
Toro D5-42MS01 - 42" Side Discharge Mower, 1992 (2000001-2999999) CUTTING UNIT ASSEMBLY Ricambi
CUTTING UNIT ASSEMBLY D5-42MS01 - Toro 42" Side Discharge Mower, 1992 (2000001-2999999)



Gestione della qualità
Aiutaci a migliorare il nostro sito. Informaci se trovi un errore.







