Toro 30152 - 52" Side Discharge Mower, 1987 (700001-799999) DRIVE SPINDLE NO. 54-7781 Ricambi
DRIVE SPINDLE NO. 54-7781 30152 - Toro 52" Side Discharge Mower, 1987 (700001-799999)

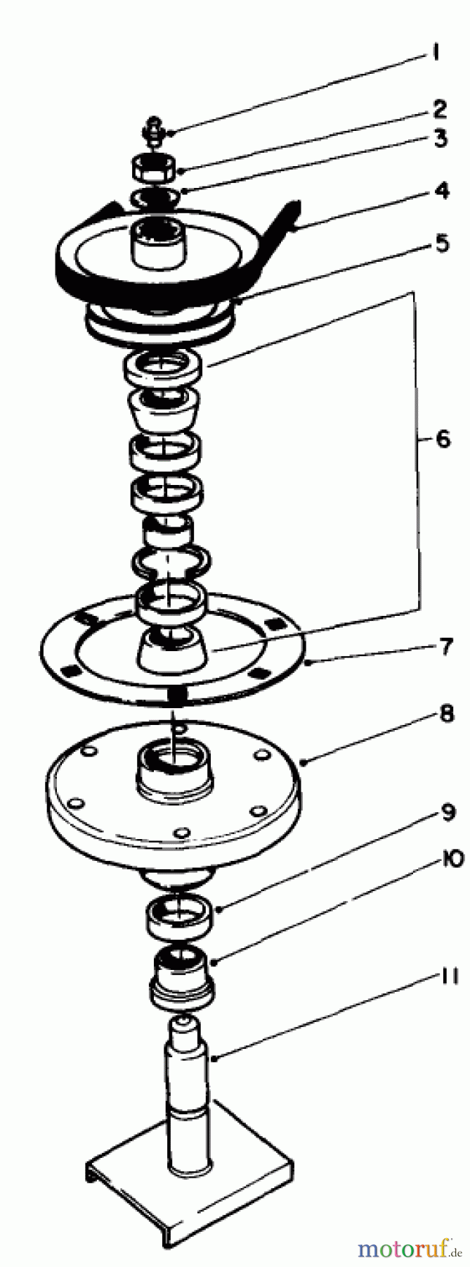
| Posizione | Articolo numero | Descrizione | |
| 1 | TR302-2 | Fettnippel | |
| 2 | TR32146-20 | Mutter | |
| 3 | TR7-4150 | WASHER | |
| 4 | TR55-7660 | Keilriemen | |
| 5 | TR55-7610 | PULLEY AND HUB ASM | |
| 6 | TR46-8530 | BEARING ASM | |
| 7 | TR27-7680-03 | Ring | |
| 8 | TR61-4160 | HOUSING-SPINDLE | |
| 9 | TR253-139 | SEAL-OIL | |
| 10 | TR27-0950 | Lagerbuechse | |
| 11 | TR105-1686 | Messerwelle | |


Gestione della qualità
Aiutaci a migliorare il nostro sito. Informaci se trovi un errore.

