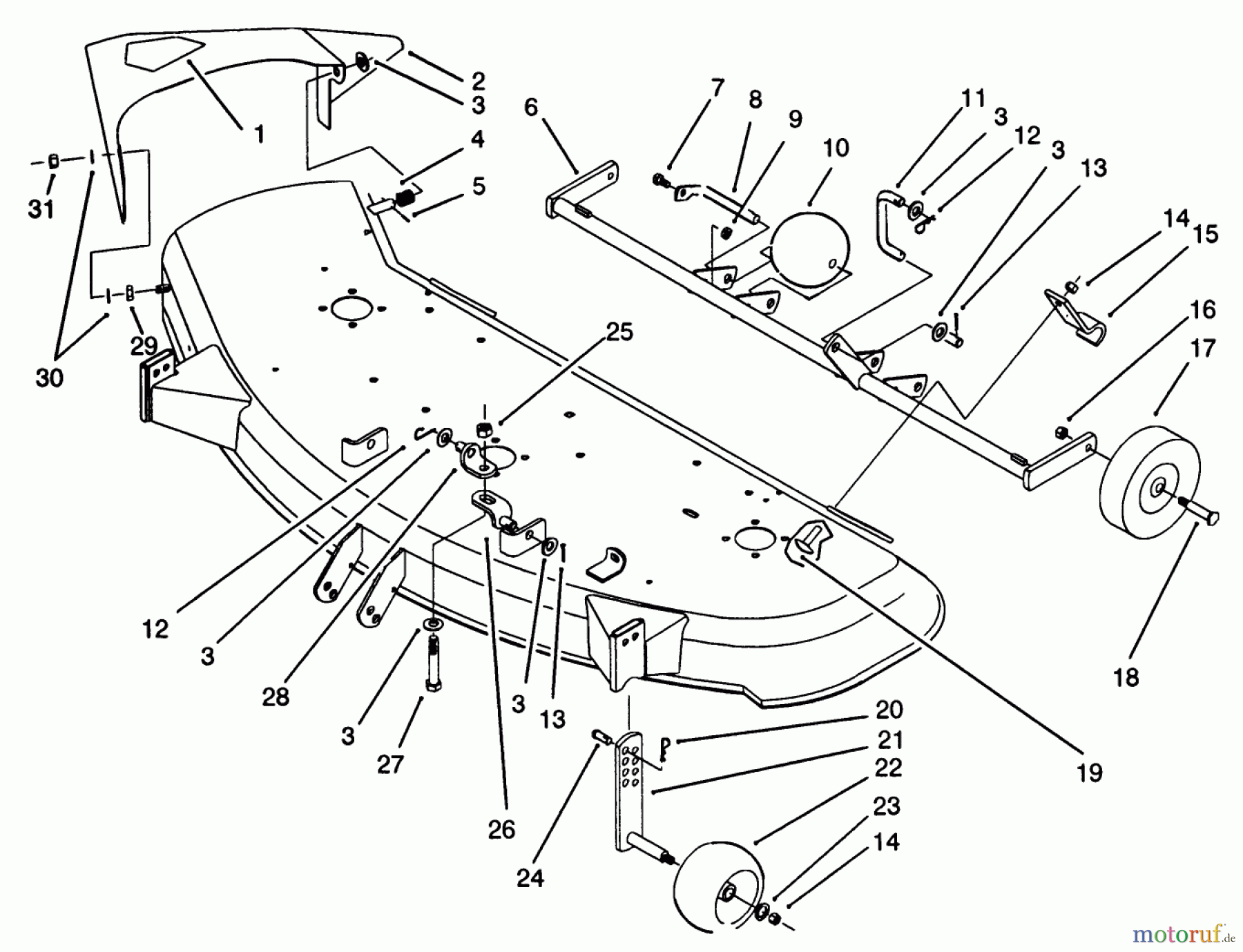
Toro 05-48SS01 - 48" Side Discharge Mower, 1992 (2000001-2999999) SUSPENSION ASSEMBLY Ricambi
SUSPENSION ASSEMBLY 05-48SS01 - Toro 48" Side Discharge Mower, 1992 (2000001-2999999)



Gestione della qualità
Aiutaci a migliorare il nostro sito. Informaci se trovi un errore.






