.it
Carrello
vuoto
Il mio account
Registrati
Log in
Benvenuti
Contatti
Spedizione
L’azienda
Guest book
Condizioni e Privacy
Catalogare
Tagliare, profilare
Componenti per motore
Officine meccaniche
Parti e componentistica per macchine varie
Forestali
Articoli elettrici
Articoli invernali
Cinghie trapezoidali e relative pulegge
Filters
PEZZI DI RICAMBIO
Sprocket Rims
Guide Bars
Chainsaw Chains
Search by Part Number
Diagrammi ed elenchi
Servizio
Determine Chain
Ricerca
DE
EN
FR
ES
IT
Versione mobile
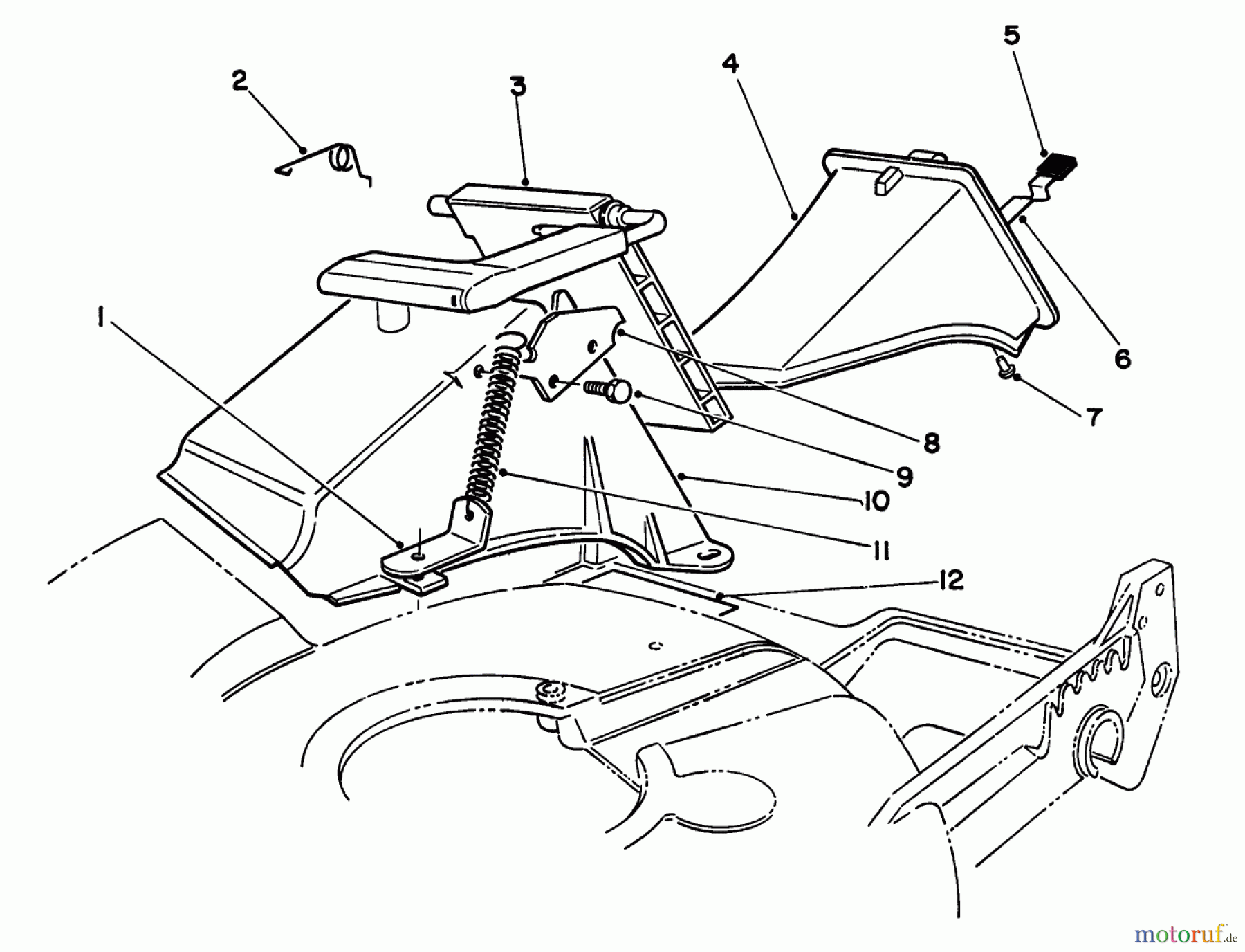
Toro 59174 - Rear Bagging Kit, Recycler Mower (21") DISCHARGE TUNNEL & PLUG ASSEMBLY Ricambi
Start
Toro Neu
Accessories, Mower
59174 - Toro Rear Bagging Kit, Recycler Mower (21")
DISCHARGE TUNNEL & PLUG ASSEMBLY
DISCHARGE TUNNEL & PLUG ASSEMBLY 59174 - Toro Rear Bagging Kit, Recycler Mower (21")
Posizione
Articolo numero
Descrizione
1
TR71-9350
Federaufhaengung
2
TR80-3770
RETAINER-DOOR
3
TR77-0200
Klappe
4
TR77-0500
Stopfen
5
TR76-4650
Griff
6
TR76-4640
Hebel
7
TR3295-35
Niete
8
TR76-4570
Raste
9
TR46-8090
Schraube
10
TR82-9150
GRASLEITBLECH
11
TR76-4660
Zugfeder
12
TR82-7960
DISCONTINUED
Gestione della qualità
Aiutaci a migliorare il nostro sito. Informaci se trovi un errore.