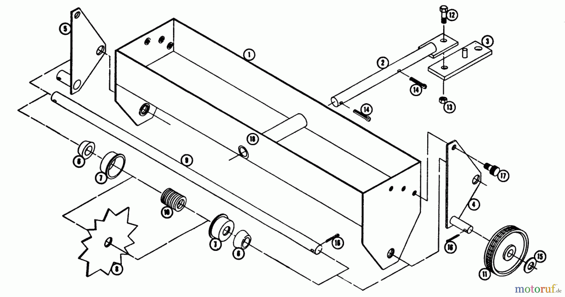
Toro SC-152 - Aerator, 1962 PARTS LIST-AERATOR MODEL 7-2411 (FORMERLY SC-152) Ricambi
PARTS LIST-AERATOR MODEL 7-2411 (FORMERLY SC-152) SC-152 - Toro Aerator, 1962

| Posizione | Articolo numero | Descrizione | |
| 1 | TR2853 | ||
| 2 | TR2866 | ||
| 3 | TR2160 | DISCONTINUED | |
| 4 | TR2862 | ||
| 5 | TR2865 | ||
| 6 | TR2857 | ||
| 7 | TR2858 | DISCONTINUED | |
| 8 | TR2859 | DISCONTINUED | |
| 9 | TR2860 | DISCONTINUED | |
| 10 | TR286-1 | Sperre | |
| 11 | TR110506 | Rad | |
| 12 | TR9080060-4 | ||
| 13 | TR915115-6 | ||
| 14 | TR933217 | DISCONTINUED | |
| 15 | TR3256-26 | WASHER-FLAT | |
| 16 | TR932036-4 | ||
| 17 | TR2868 | ||
| 18 | TR83-3410 | DECAL-SIDE TRIM | |



